EasyManua.ls Logo

CAME BXL04AGS

CAME BXL04AGS
96 pages
Go to English
To Next Page IconTo Next Page
To Next Page IconTo Next Page
To Previous Page IconTo Previous Page
To Previous Page IconTo Previous Page
Loading...
117
211
349
105
160
300
170
298
149 149
1
10
2
2
3
6
6
4
7
8
5
9
7
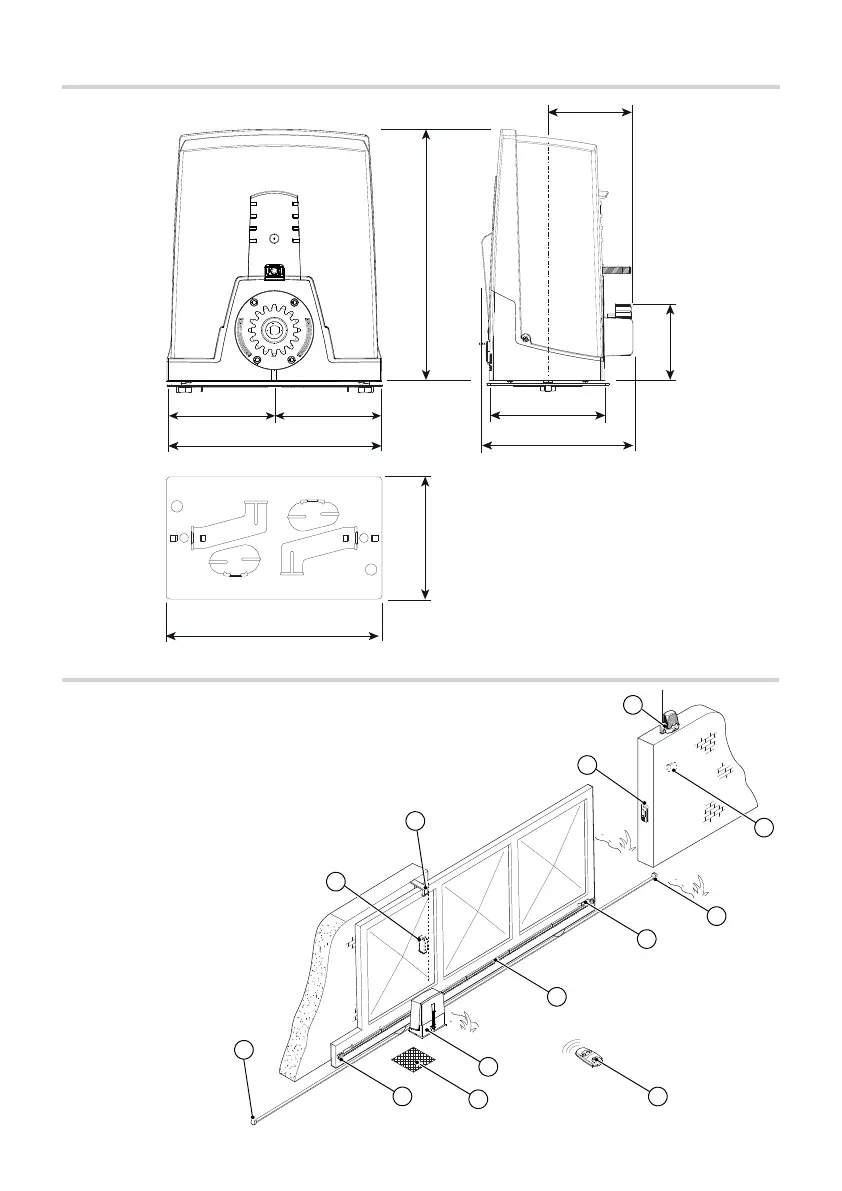
Pag. 7 - Manuale FA01085-IT - 02/2018 - © CAME S.p.A. - «istruzioni originali»
IMPIANTO TIPO
1. Automazione
2. Alette di finecorsa
3. Cremagliera
4. Selettore a chiave
5. Lampeggiatore
6. Fotocellule
7. Battuta di arresto
8. Trasmettitore
9. Pattini-guida
10. Pozzetto di derivazione
DIMENSIONI (MM)

Other manuals for CAME BXL04AGS

Related product manuals