EasyManua.ls Logo

CAME BXV10AGS - Page 30

CAME BXV10AGS
32 pages
Print Icon
To Next Page IconTo Next Page
To Next Page IconTo Next Page
To Previous Page IconTo Previous Page
To Previous Page IconTo Previous Page
Loading...
p. 30 - Manual FA01442-EN - 07/2019 - © CAME S.p.A. - The contents of this manual may be changed, at any time, and without notice. - Original instructions
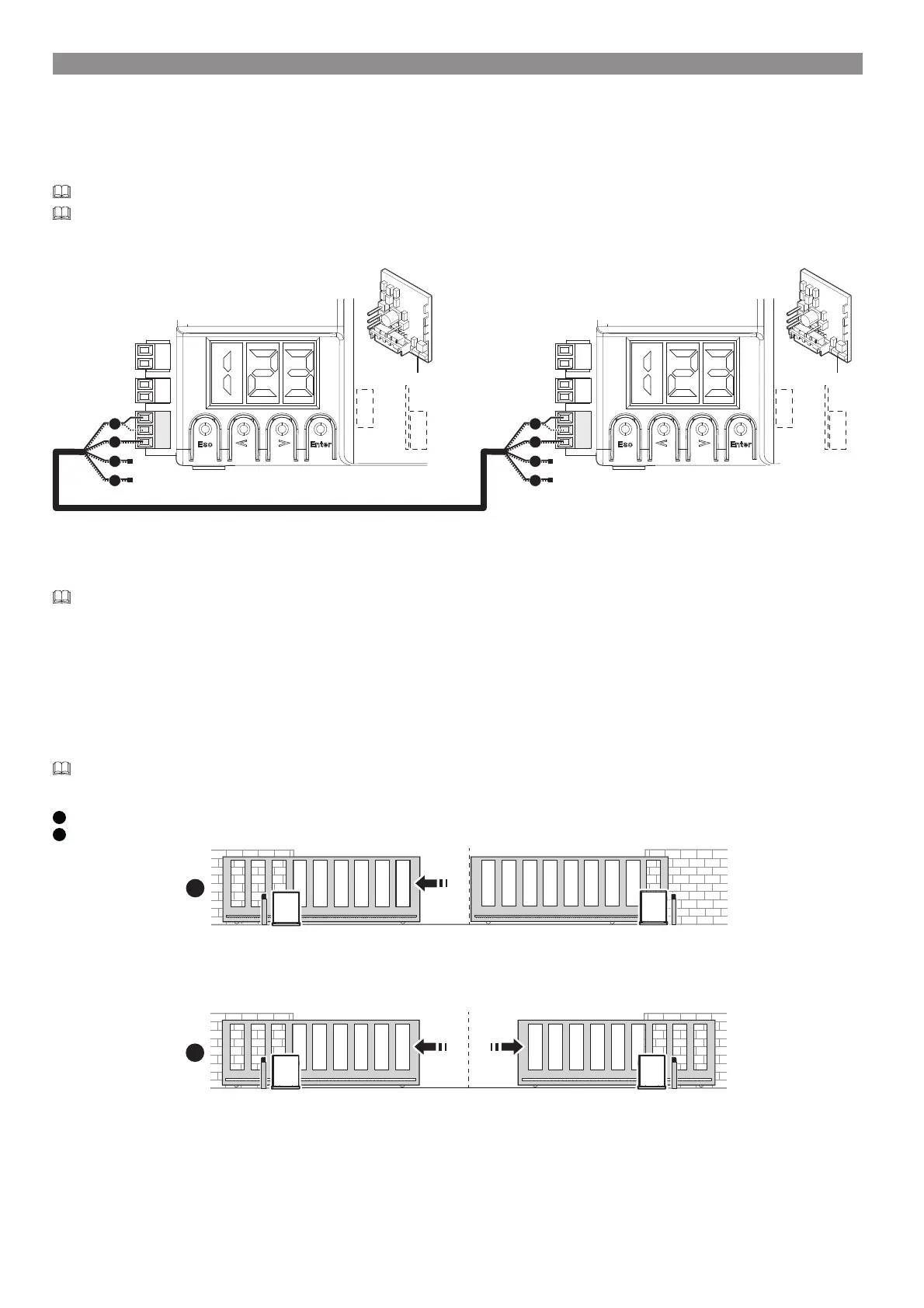
PAIRED OPERATION
Two connected operators are controlled with one command.
Electrical connections
Connect the two electronic boards with a UTP CAT 5 cable.
Insert an RSE card into both control boards.
Connect up the electrics for the devices and accessories.
The devices and accessories must be connected to the control board which will be set as the MASTER.
For information on connecting the electrics for the devices and accessories, please see the “ELECTRICAL CONNECTIONS” section.
A B GND
RSE
RSE
CAT5
MASTER SLAVE
A B GND
RSE
RSE
AS1 GND
B
A
S1 GND
B
1
2
3
4
1
2
3
4
Programming
All programming operations described below must be performed only on the control board set as the MASTER.
Start programming with the functions indicated below.
F49
F54
F52
RSE
Opening direction
Transferring MASTER-SLAVE parameters
Saving users
All save user operations must be performed only on the control board set as the MASTER.
Operating modes
1
PARTIAL OPENING command
2
STEP-BY-STEP command
MASTER SLAVE
MASTER SLAVE
2
1

Related product manuals