EasyManua.ls Logo

CAN FO5000 - Connection Tube Requirements; Gas Connection Procedure

Default Icon
40 pages
Print Icon
To Next Page IconTo Next Page
To Next Page IconTo Next Page
To Previous Page IconTo Previous Page
To Previous Page IconTo Previous Page
Loading...
BUILT-IN GAS OVENS WITH GRILL ▪ FO Series
19
FO Series ed. 01/2020
CONNECTION TUBE REQUIREMENTS
CAUTION!
The connection of the equipment to the gas pipeline shall be carried out by means of
a suitable connection pipe with the use of certified sealing fittings of the most suitable
type for the application.
Flexible connection pipes can be used. They shall:
always be easy to inspect,
be protected against contact with hot parts (e.g. burner cups)
be protected from the mobile parts of the recessed structure (drawers, doors, etc...),
have length in accordance with the technical standards for each sector of reference.
Avoid any kind of mechanical stress on the hoses during installation and during use (protection
against pulling, twisting, crushing, etc.).
CAUTION!
Perform maintenance and periodic replacement of the hose by the expiry date stated
on the sheath. Never use expired or damaged hoses.
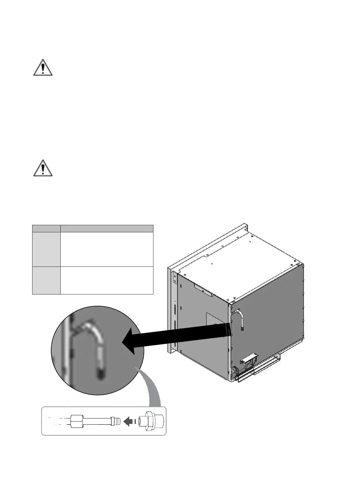
GAS CONNECTION PROCEDURE
The equipment is supplied with a gas ramp having a smooth and free terminal section of at least 30
mm, suitable for housing adequate compression fittings. The gas connection terminal is located on
the back of the product. To perform the gas connection, follow these steps:
STEP
ACTION
1
Connect the Ø 8 mm pipe to
the fitting to tighten the gas
distribution network.
2
Test the connection with
suitable leak test tool or liquid
solution
Important:
fittings are not part of the product.
The supply and connection are
to be provided solely by the installer.