EasyManua.ls Logo

Case CX160 - Page 23

Case CX160
273 pages
Print Icon
To Next Page IconTo Next Page
To Next Page IconTo Next Page
To Previous Page IconTo Previous Page
To Previous Page IconTo Previous Page
Loading...
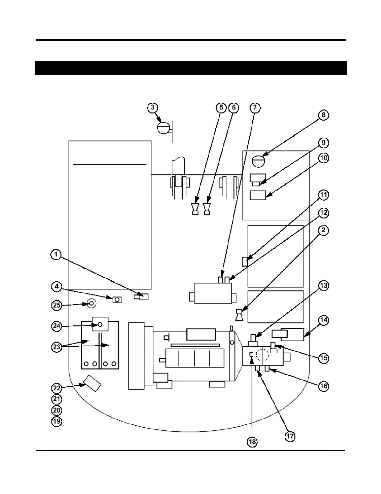
COMPONENT LOCATIONS
2 - 5
CX EXCAVATORS
ELECTRICAL COMPONENTS
OUTSIDE OF THE CAB

Table of Contents

Related product manuals