EasyManua.ls Logo

Centron Technologies CM735 - Tube Clamp Module Details

Centron Technologies CM735
28 pages
Print Icon
To Next Page IconTo Next Page
To Next Page IconTo Next Page
To Previous Page IconTo Previous Page
To Previous Page IconTo Previous Page
Loading...
11
CM73522UMC.0112
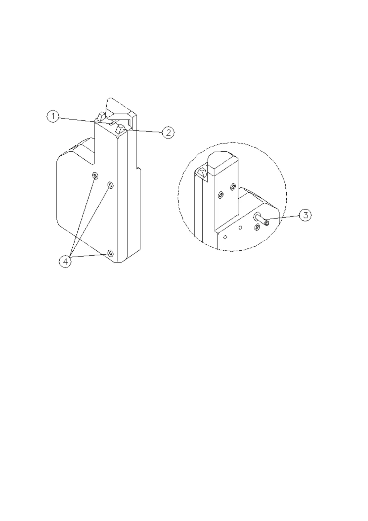
3-5. Tube Clamp Module
(1) Tube Clamp
(2) Guide Pin
(3) Connection Plug
(4) Mounting Screws