EasyManua.ls Logo

Chamberlain 3265 - Page 21

Chamberlain 3265
36 pages
Print Icon
To Next Page IconTo Next Page
To Next Page IconTo Next Page
To Previous Page IconTo Previous Page
To Previous Page IconTo Previous Page
Loading...
21
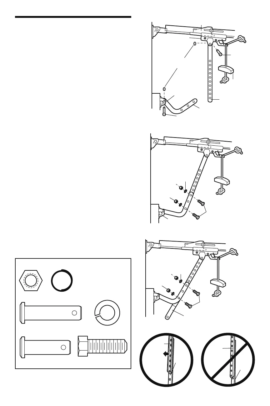
INSTALLATION STEP 12
Connect Door Arm to Trolley
Follow instructions which apply to your door type as
illustrated below and on the following page.
SECTIONAL DOORS ONLY
Make sure garage door is fully closed. Pull the emergency
release handle to disconnect the outer trolley from the
inner trolley. Slide the outer trolley back (away from the
door) about 2" (5 cm) as shown in Figures 1, 2 and 3.
Figure 1:
Fasten straight door arm section to outer trolley with
the 5/16"x1" clevis pin. Secure the connection with a
ring fastener.
Fasten curved section to the door bracket in the same
way, using the 5/16"x1-1/4" clevis pin.
IMPORTANT: The groove on the straight door arm MUST
face away from the curved door arm (Figure 4).
Figure 2:
Bring arm sections together. Find two pairs of holes
that line up and join sections. Select holes as far apart
as possible to increase door arm rigidity.
Figure 3, Hole alignment alternative:
If holes in curved arm are above holes in straight arm,
disconnect straight arm. Cut about 6" (15 cm) from the
solid end. Reconnect to trolley with cut end down as
shown.
Bring arm sections together.
Find two pairs of holes that line up and join with bolts,
lock washers and nuts.
Pull the emergency release handle toward the opener at
a 45° angle so that the trolley release arm is horizontal.
Proceed to Adjustment Step 1, page 23. Trolley will
re-engage automatically when opener is operated.
Figure 1
Figure 2
Figure 3
Figure 4
Straight
Door Arm
Straight
Door Arm
Curved
Door
Arm
Curved
Door
Arm
(Groove
facing out)
CORRECT INCORRECT
HARDWARE SHOWN ACTUAL SIZE
Lock Washer 5/16"
Clevis Pin
5/16"x1" (Trolley)
Clevis Pin
5/16"x1-1/4" (Door Bracket)
Hex Bolt
5/16"-18x7/8"
Nut 5/16"-18
Ring Fastener
Outer Trolley
Inner Trolley
Clevis Pin
5/16"x1"
Ring
Fastener
Curved
Door Arm
Door Bracket
Straight
Door Arm
Clevis Pin
5/16"x1-1/4"
Nuts
5/16"-18
Lock
Washers
5/16"
Bolts
5/16"-18x7/8"
Door Bracket
Emergency
Release
Handle
Nuts
5/16"-18
Lock
Washers
5/16"
Bolts
5/16"-18x7/8"
Cut this end

Related product manuals