EasyManua.ls Logo

Chamberlain Power Drive Security+ PD210C - Montage; Sur le Montage; Assemblage des Rails et Pose du Support de la Poulie du Câble; Opération

Chamberlain Power Drive Security+ PD210C
80 pages
Print Icon
To Next Page IconTo Next Page
To Next Page IconTo Next Page
To Previous Page IconTo Previous Page
To Previous Page IconTo Previous Page
Loading...
8
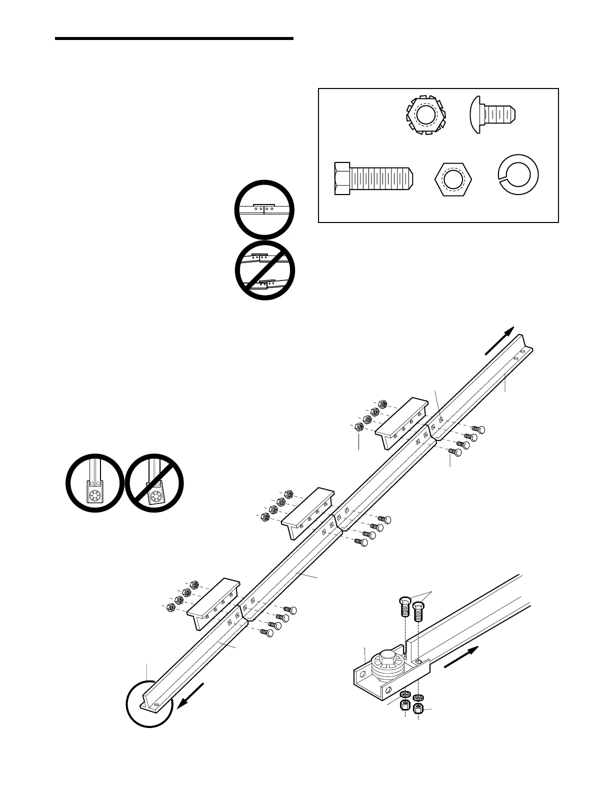
MONTAGE - 1
RE
OPÉRATION
Assemblage des rails et pose du
support de la poulie du câble
Pour ne pas rencontrer de difficultés pendant la pose,
ne faire fonctionner l'ouvre-porte de garage que
lorsque cela est expressément indiqué.
1. Sur une surface plane, aligner les 4 sections de rail,
exactement comme il est illustré. Les sections centrales
du rail, de même que les sections avant et arrière du rail
sont interchangeables pour les besoins du montage.
2. Insérer les boulons à tête bombée et collet
carré de façon que leur collet repose
dans les trous carrés des sections des
rails et les faire passer dans les trous
ronds des supports. S'assurer que le
collet des boulons repose bien dans
les trous carrés des rails et que les rails
sont bien alignés avant de serrer les
écrous. En cas de mauvais assemblage,
le chariot fonctionnera par à-coups, fera
du bruit et/ou la porte se rouvrira après
s'être fermée.
3. Visser les écrous indesserrables sur les boulons.
S'assurer que les rails sont bien alignés, puis serrer les
écrous.
REMARQUE : Si les rails ne sont pas assemblés
exactement comme il est illustré, le chariot ne circulera
pas comme il faut sur toute la longueur des rails ou bien
il viendra en butée contre les écrous.
4. Positionner le support du câble de la poulie sur
l'extrémité avant du rail, comme il est illustré. Bien le
faire tenir avec les fixations.
REMARQUE : Lors du serrage des vis, s'assurer que le
support est toujours parallèle au rail, sinon le rail pliera
lorsque l'ouvre-porte fonctionnera.
ARRIÈRE DU RAIL
(VERS LA MOTEUR)
AVANT DU RAIL
(VERS LA PORTE)
Le support de la poulie
du câble se fixe à
L'EXTRÉMITÉ
AVANT du rail
Rail
(section arrière)
Rail
(section centrale)
Boulon à tête bombée
et à collet carré
de 1/4 po-20x1/2 po
Rail
(section arrière)
Trous carrés pour les boulons
à tête bombée et collet carré
Écrou indesserrable
de 1/4 po
Boulons hexagonaux
de 5/16 po-18x7/8 po
Support de la
poulie du câble
Le support et le rail doivent
être bien alignés
Rondelle-frein
de 5/16 po
Écrou de
5/16 po
Écrou indesserrable
de 1/4 de po-20
Boulon à tête bombée et collet
carré de 1/4 po-20x1/2 po
Boulon hexagonal
de 5/16 po-18x7/8 po
Écrou de
5/16 po-18
Rondelle-frein
de 5/16 po
GRANDEUR RÉELLE
DES FIXATIONS

Table of Contents

Related product manuals