GRANDEUR RÉELLE DES FIXATIONS
POSE - 3
e
OPÉRATION
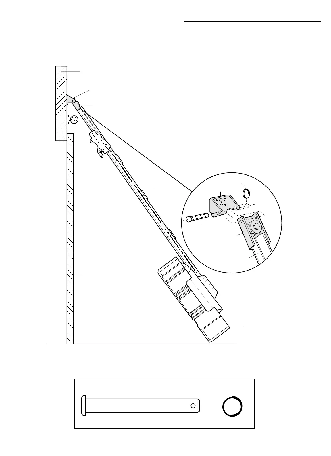
Fixation du rail sur le support de
linteau
• Positionner l'ouvre-porte de garage sur le plancher, juste
sous le support de linteau. Utiliser une des boîtes
d'emballage pour le protéger.
REMARQUE : Si le ressort de la porte gêne, il faudra
demander de l'aide. Demander à une personne de bien
retenir l'ouvre-porte sur un support temporaire de façon
que le rail ne touche pas le ressort.
• Positionner le support du rail contre le support de linteau.
• Aligner les trous des supports et les raccorder avec un
axe de chape, comme il est illustré.
• Introduire un anneau d'arrêt pour immobiliser.