EasyManua.ls Logo

Chamberlain Security+ 6200 - Attach the T-Rail to Header Bracket

Chamberlain Security+ 6200
40 pages
Print Icon
To Next Page IconTo Next Page
To Next Page IconTo Next Page
To Previous Page IconTo Previous Page
To Previous Page IconTo Previous Page
Loading...
Header
Bracket
Temporary
Support
Header Wall
Garage
Door
The Chamberlain Group, Inc.
CGI - Attach Tee Rail to Header Bracket
2/4/92 - 4/9/92 - 5/3/92 -5/5/92 - 5/26/92
T-rail
INCREASE TRAVEL
DOWN
UP
Cable
Pulley
Bracket
Clevis Pin
5/16"x2-3/4 "
Ring Fastener
Header Bracket
Cable
Pulley
Bracket
T-rail
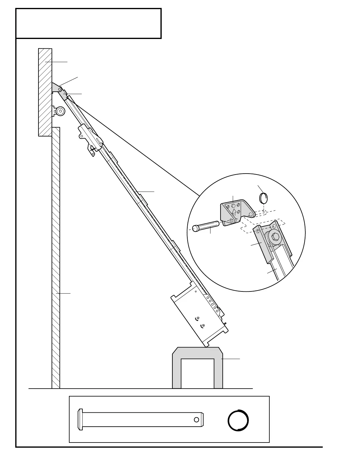
• Position the opener on the garage floor below the
header bracket. Use packing material as a
protective base.
If the door spring is in the way you'll need help.
Have someone hold the opener securely on a
temporary support to allow the T-rail to clear the
spring.
• Position the cable pulley bracket against the header
bracket.
• Align the bracket holes and join with a clevis pin as
shown.
• Insert a ring fastener to secure.
15
Installation Step 3
Attach the T-rail to the Header Bracket
Clevis Pin
5/16" x 2-3/4"
Ring Fastener
Hardware Shown Actual Size

Table of Contents

Related product manuals