EasyManua.ls Logo

Changan BENNI MINI 2011 - Page 101

Changan BENNI MINI 2011
200 pages
Print Icon
To Next Page IconTo Next Page
To Next Page IconTo Next Page
To Previous Page IconTo Previous Page
To Previous Page IconTo Previous Page
Loading...
202-01-23 Driving Axle 202-01-23
DISASSEMBLY AND ASSEMBLY (continued)
BENNI MINI
Assembly
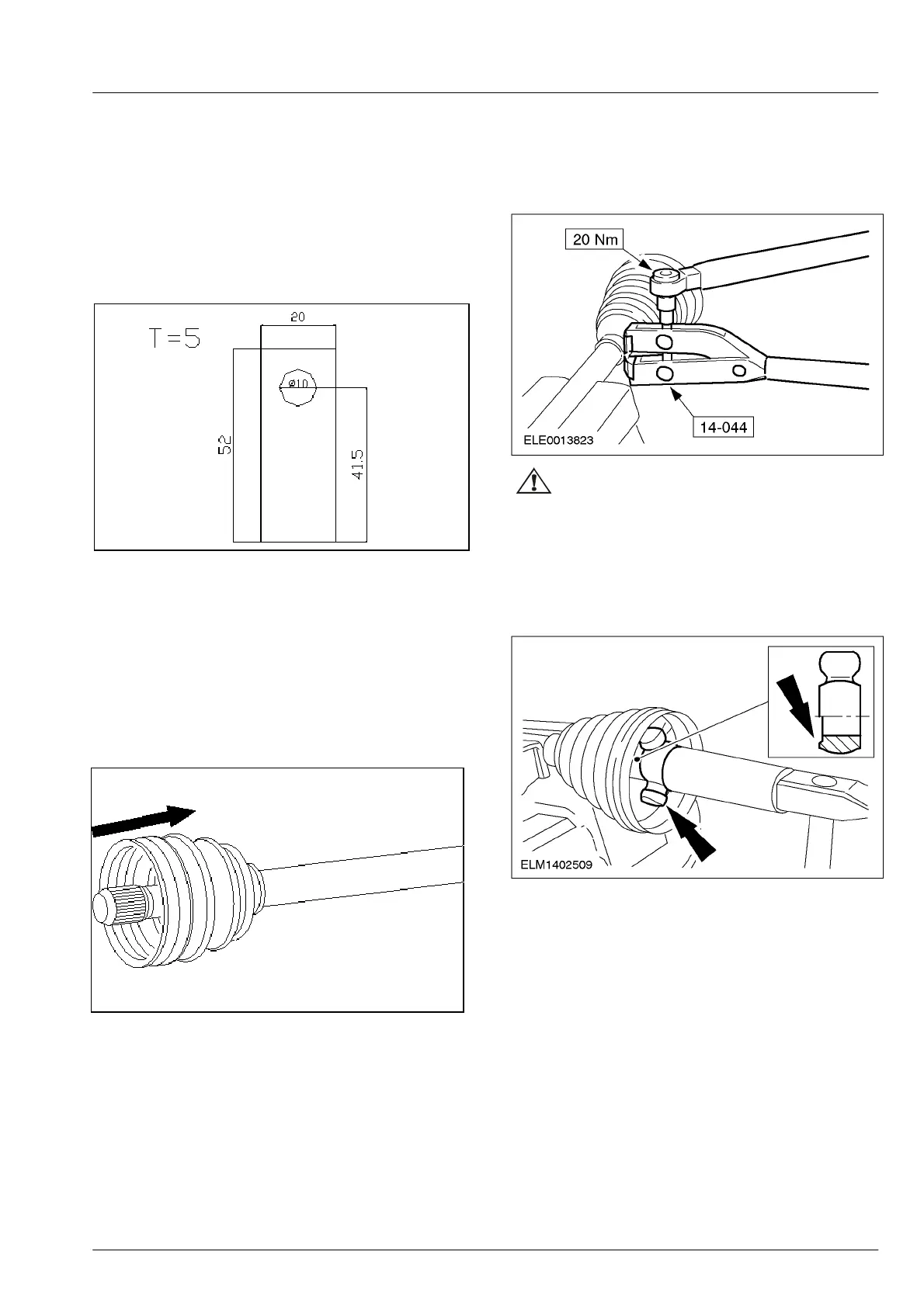
1. Notes: replace all the retaining ring and nip of the
dust shield.
Configure a nip for the special tool 14-044.
• Material: aluminum plate or steel plate.
2 Notes: the fixing torque of the 0.8mm nip is 12Nm
and the fixing torque of the 1.1mm nip is 20Nm..
Nest the dust shield and small nip on the axle
rod, place the nip in the groove of the dust
shield and fix the groove of the dust shield with
the special tool.
3
Warnings: do not damage the bearing seat
of the rolling column.
Install the ball pin frame (only for driving axle
side of the driving axle)
1Use proper pipe to install the ball pin frame to the
place where is most near the driving axle.
Notes: use a new retaining ring, and make sure the
retaining ring is well installed.
The front face of the three-ball-pin frame
points to the driving axle.
2. Install the nip of the inner dust shield on the driving
axle.
3. Install constant speed rolling column.
4. For the three-ball-pin frame, use the sharp nose pliers
to fix the new retaining ring (clipping ring on the
axle end).

Related product manuals