EasyManua.ls Logo

Chrysler Concorde - Page 1260

Chrysler Concorde
1591 pages
Print Icon
To Next Page IconTo Next Page
To Next Page IconTo Next Page
To Previous Page IconTo Previous Page
To Previous Page IconTo Previous Page
Loading...
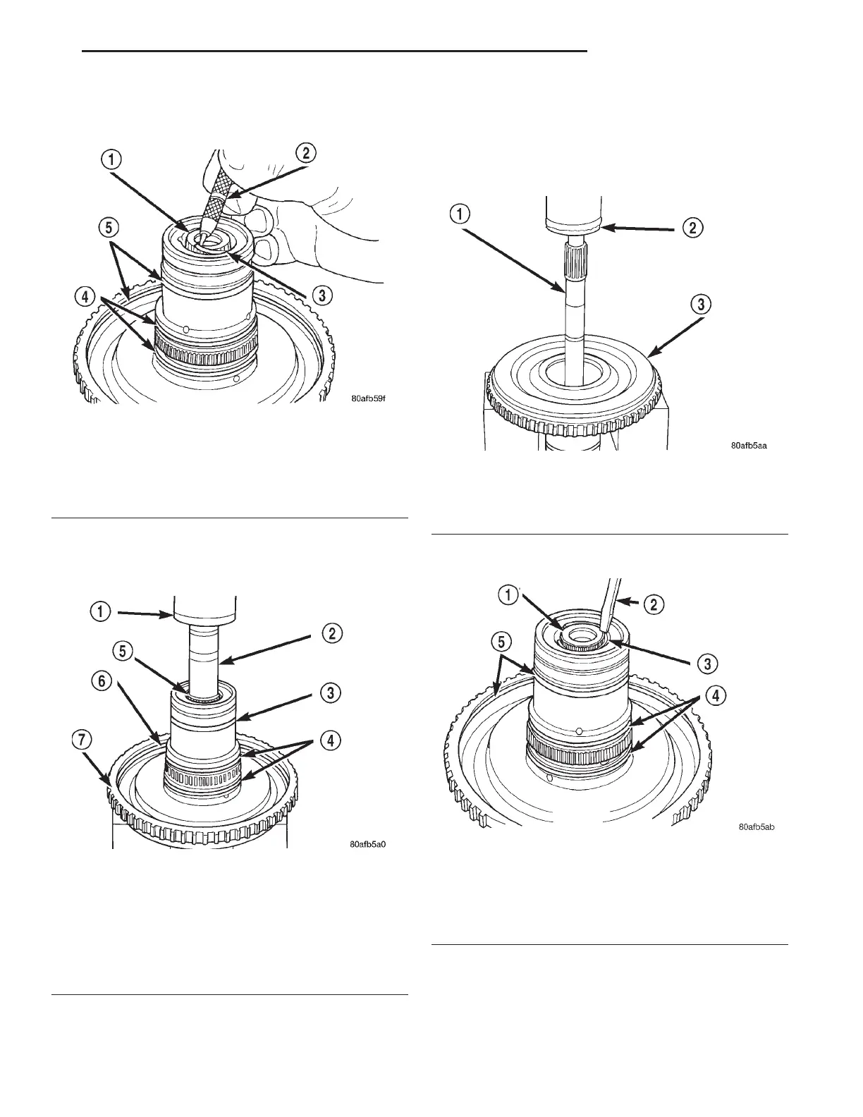
(25) Remove input shaft to input clutch hub snap
ring (Fig. 252).
(26) Using a suitably sized socket and an arbor
press, remove input shaft from input shaft hub (Fig.
253).
ASSEMBLY
Use petrolatum on all seals to ease assembly of
components.
(1) Using an arbor press, install input shaft to
input shaft hub (Fig. 254).
(2) Install input shaft snap ring (Fig. 255).
(3) Using an arbor press and Tool 6057, Install
OD/Reverse piston return spring and snap ring (Fig.
256) (Fig. 257).
Fig. 252 Remove Input Shaft Snap Ring
1 INPUT SHAFT
2 SHARP-POINTED TOOL
3 SNAP RING
4 O-RINGS
5 SEALS
Fig. 253 Remove Input Shaft
1 ARBOR PRESS RAM
2 SOCKET
3 SEAL
4 O-RINGS
5 INPUT SHAFT
6 SEAL
7 INPUT SHAFT HUB ASSEMBLY
Fig. 254 Install Input Shaft
1 INPUT SHAFT
2 ARBOR PRESS RAM
3 INPUT SHAFT HUB ASSEMBLY
Fig. 255 Install Input Shaft Snap Ring
1 INPUT SHAFT
2 SCREWDRIVER (DO NOT SCRATCH BEARING SURFACE)
3 SNAP RING
4 O-RINGS
5 SEALS
LH 42LE TRANSAXLE 21 - 91
DISASSEMBLY AND ASSEMBLY (Continued)

Table of Contents

Related product manuals