EasyManua.ls Logo

Citizen CX 265 - Move in User Menu

Citizen CX 265
80 pages
To Next Page IconTo Next Page
To Next Page IconTo Next Page
To Previous Page IconTo Previous Page
To Previous Page IconTo Previous Page
Loading...
- 14 -
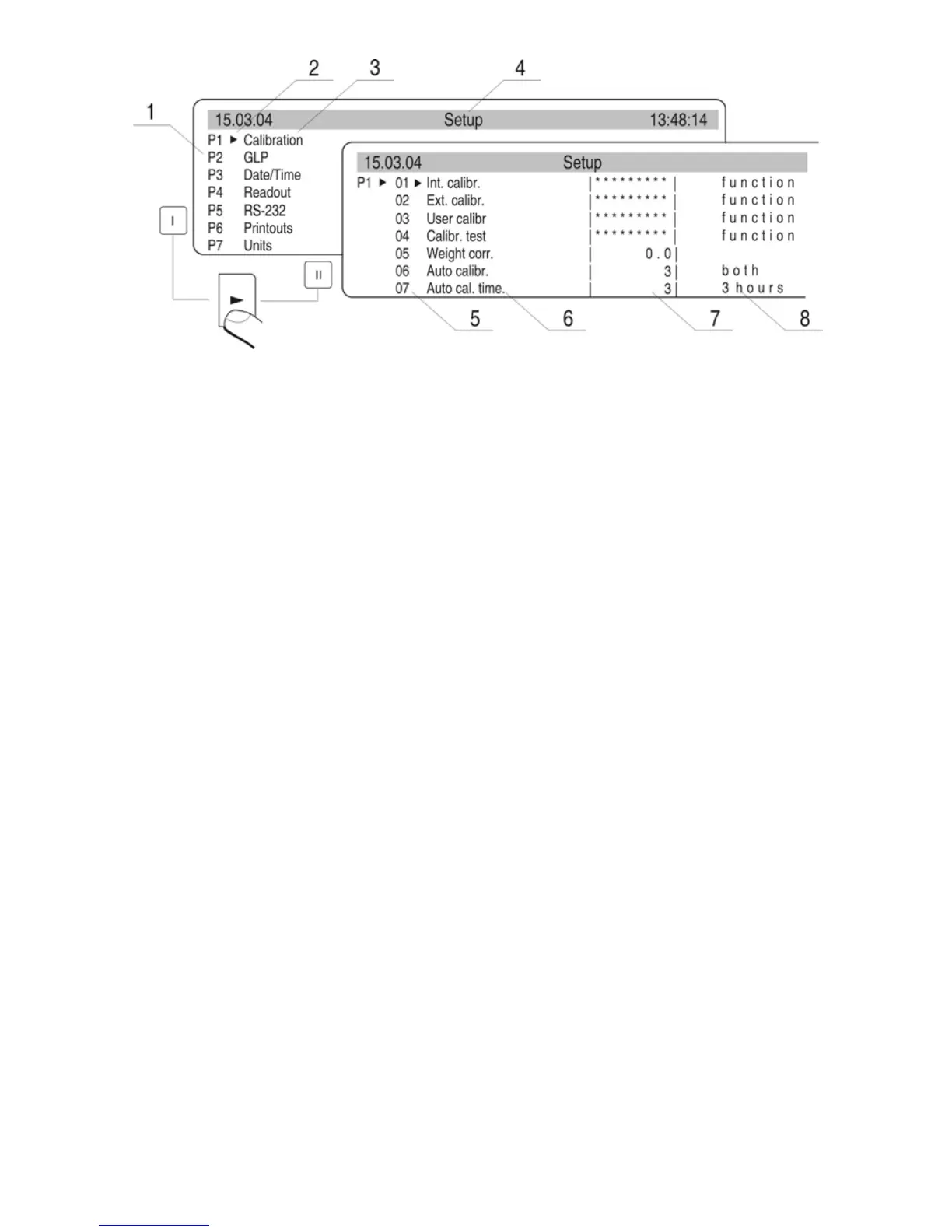
Draw. 5. Menu
1 - main menu number
2 – indication of the function selection
3 – function name
4 – currently used function
5 – submenu number
6 – submenu name
7 – attribute of the menu
8 – value of the attribute
6.1 Move in user menu
User moves i
n the menu by
- the balance keyboard
- PS keyboard,
- Communicates from computer to the balance

Related product manuals