EasyManua.ls Logo

Citizen CX 265 - Page 38

Citizen CX 265
80 pages
Print Icon
To Next Page IconTo Next Page
To Next Page IconTo Next Page
To Previous Page IconTo Previous Page
To Previous Page IconTo Previous Page
Loading...
- 38 -
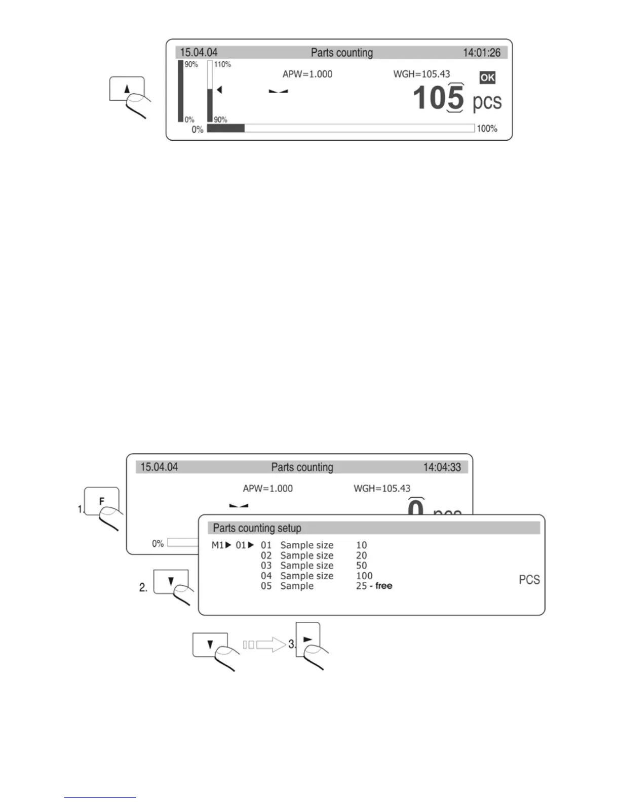
Draw. 28. Counting pieces –display view
APW – singular piece mass [g]
WGH – all pieces mass on the pan
pcs – mark for counting pieces
Return to weighing
- Press the MODE and display shows list of all functions
- Select MO Weighing, Press the RIGHT ARROW, display show stage of
weighing
17.1.2. Counting through determine singular element mass from the
s
tandard batch
Start the procedure of counting pieces in accordance with p. 16.1.1, it does not matter
which mass in the field 01. Select 07 Start and press the key RIGHT ARROW. In the
counting pieces function press the key Units. Dialog window appears on the display.
Select the batch quantity (fields 01 – 04) or write it in 05 – Standard.
Draw. 29. Counting pieces with using standard batch
Then press the RIGHT ARROW key and follow orders presented on the display.

Related product manuals