EasyManua.ls Logo

Clever Choice Voice+ - Page 20

Clever Choice Voice+
56 pages
Print Icon
To Next Page IconTo Next Page
To Next Page IconTo Next Page
To Previous Page IconTo Previous Page
To Previous Page IconTo Previous Page
Loading...
20
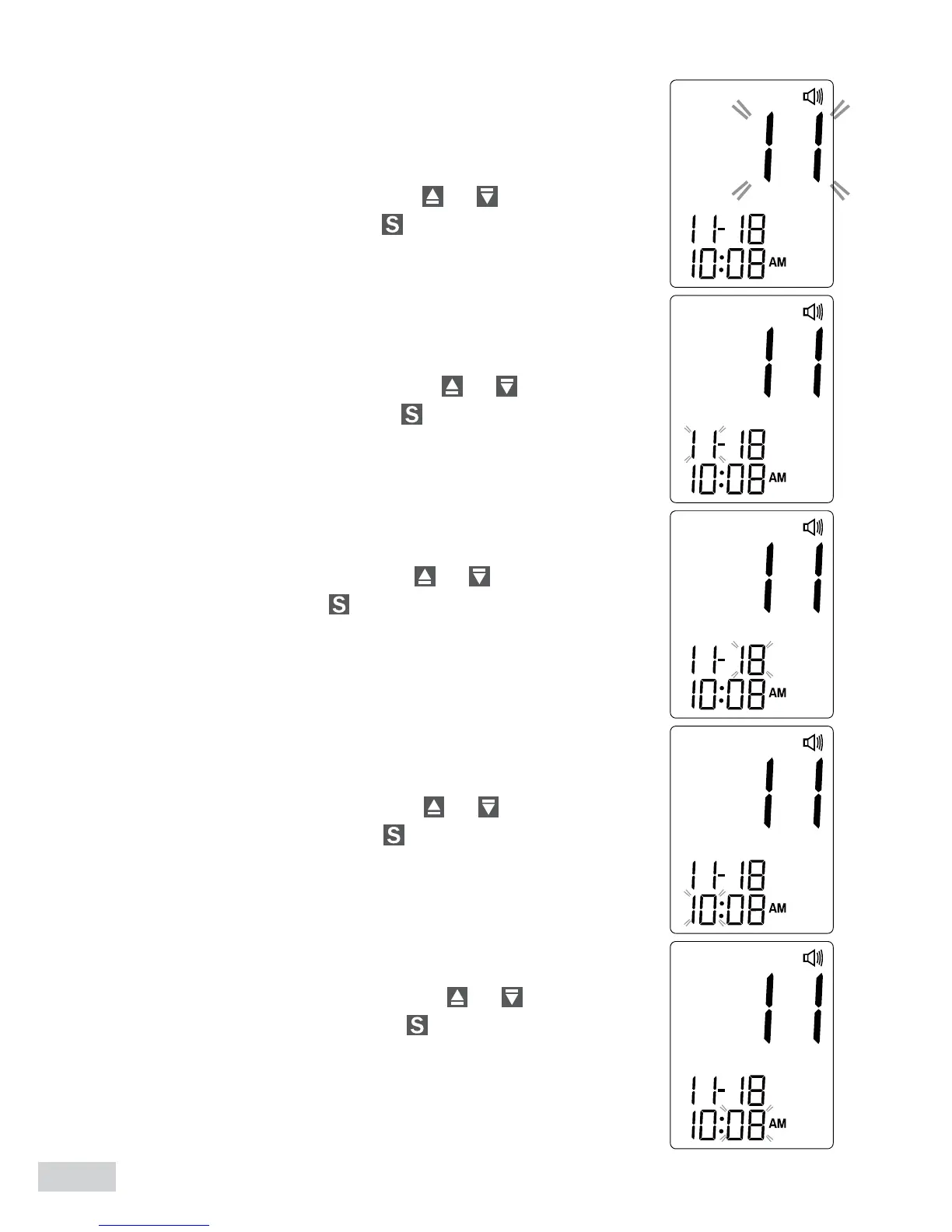
3. Setting the date
With the year ashing, press
or until the cor-
rect year appears. Press .
With the month ashing, press
or until the cor-
rect month appears. Press .
With the day ashing, press
or until the correct
day appears. Press .
4. Setting the time
With the hour ashing, press
or until the cor-
rect hour appears. Press .
With the minute ashing, press
or until the cor-
rect minute appears. Press .