EasyManua.ls Logo

Commax DR-2AG/RF1 - Page 20

Commax DR-2AG/RF1
55 pages
Print Icon
To Next Page IconTo Next Page
To Next Page IconTo Next Page
To Previous Page IconTo Previous Page
To Previous Page IconTo Previous Page
Loading...
19
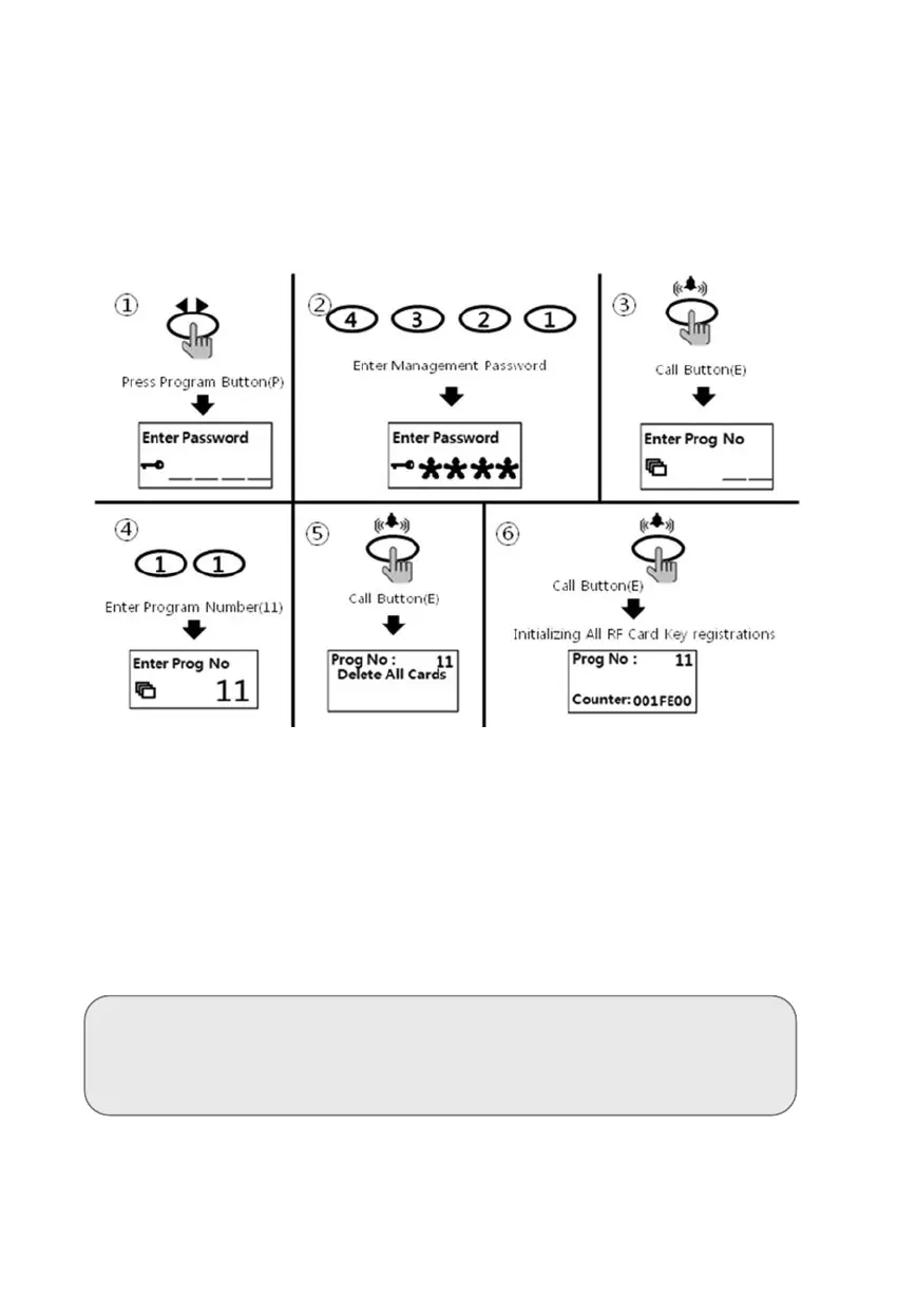
8-5. RF card key all delete way
P - Management password - E - 11 - E - E
All deletion way is only useful when initially set up, unless all registered cards are to be
deleted.
Press down "P" button
Press Management Password
Press down "E" button
Press number "11" (all delete number)
Press Call Button "E"
Press Call Button "E" one more
The number on OLED display to be changed
Press down X button if to cancel.
<References>
All numbers can be deleted only if the mode "1" in the program
number(23) is selected & executed the all delete process within 30
seconds.
www.safemag.ru
www.safemag.ru

Related product manuals