EasyManua.ls Logo

Commodore Amiga - Block Diag Ram

Commodore Amiga
59 pages
Print Icon
To Next Page IconTo Next Page
To Next Page IconTo Next Page
To Previous Page IconTo Previous Page
To Previous Page IconTo Previous Page
Loading...
CO
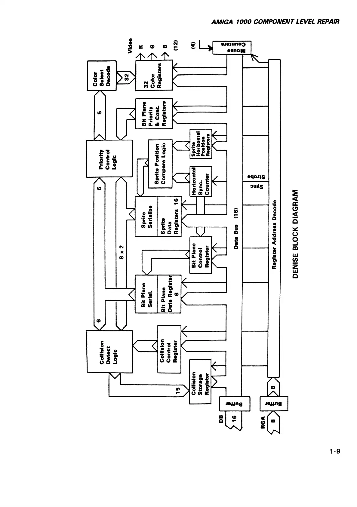
AMIGA 1000 COMPONENT LEVEL REPAIR

Other manuals for Commodore Amiga

Related product manuals