EasyManua.ls Logo

Commodore Amiga - Page 48

Commodore Amiga
59 pages
Print Icon
To Next Page IconTo Next Page
To Next Page IconTo Next Page
To Previous Page IconTo Previous Page
To Previous Page IconTo Previous Page
Loading...
00
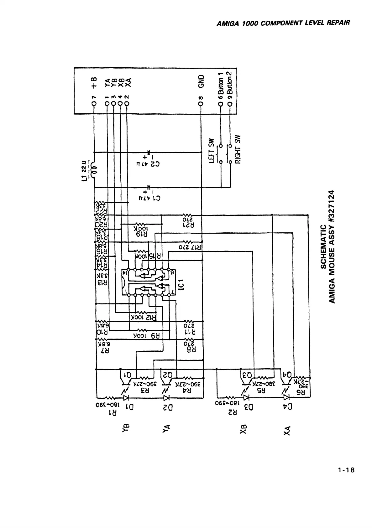
SCHEMATIC
AMIGA MOUSE ASSY #327124
AMIGA 1000 COMPONENT LEVEL REPAIR

Other manuals for Commodore Amiga

Related product manuals