EasyManua.ls Logo

CommScope CMAX-LHM2-30-I53 - Azimuth Angle; Elevation Angle

CommScope CMAX-LHM2-30-I53
12 pages
Print Icon
To Next Page IconTo Next Page
To Next Page IconTo Next Page
To Previous Page IconTo Previous Page
To Previous Page IconTo Previous Page
Loading...
5. Antenna Mounting
Page 8 M0153AEA_Inst_CMAX-LHM2 Installation Guide for CMAX-LHM2 Antennas
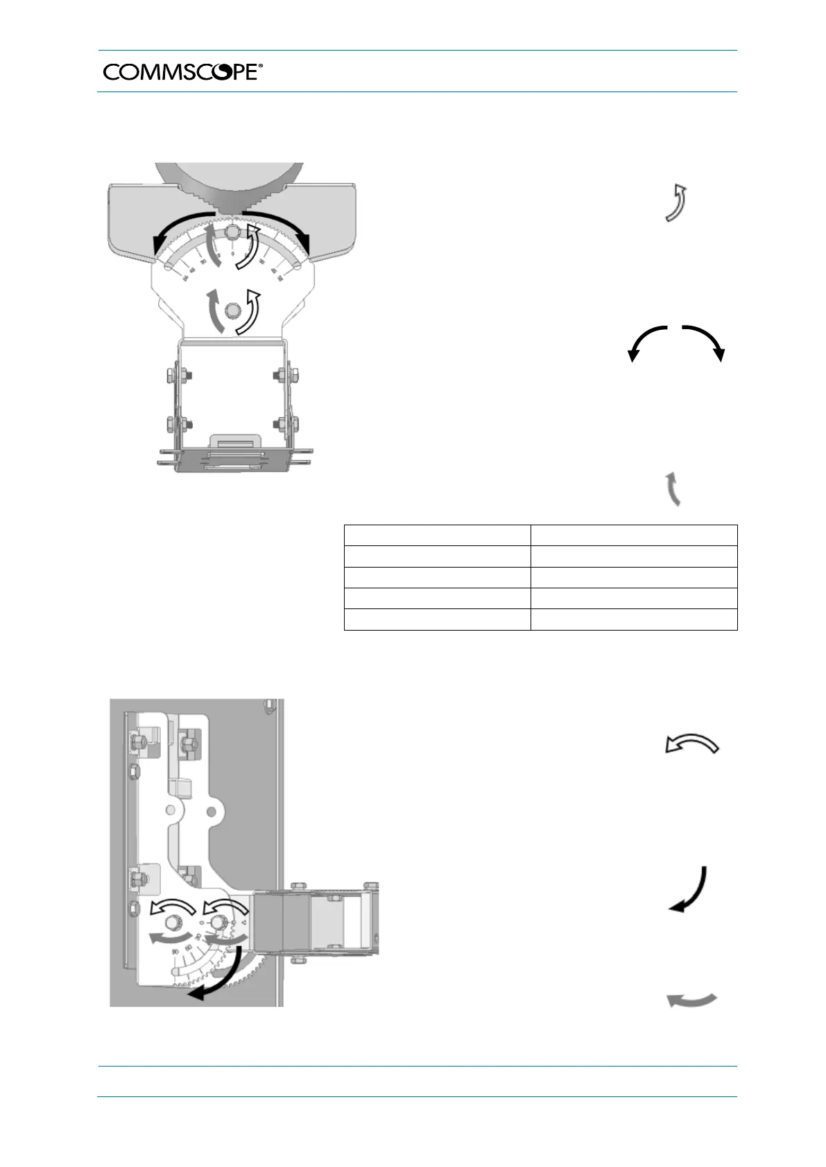
5.3. Azimuth Angle
1. Loosen the three fixing
screws at the top and
bottom side. (Do not
unscrew them completely.)
2.
Adjust your desired angle.
The complete antenna
pedestal can be swivelled to
the left-/right-hand side by
up to 50º when mounted to
a pole. With wall mounting,
this angle
is different for
each
antenna type (see
table below).
3. Tighten the fixing screws.
Antenna
Max. azimuth adjustment
CMAX-LHM2-30-I53
40°
CMAX-LHM2-3030-I53
40°
CMAX-LHM2-22-I53
27°
CMAX-LHM2-60-I53
50°
5.4. Elevation Angle
1.
Loosen the
four fixing
screws at the left- and right-
hand side. (Do not unscrew
them completely.)
2.
Adjust your desired angle.
The complete antenna
pedestal can be swivelled to
down-tilt angle 0-90º.
Note:
The bracket can be
installed in the opposite
direction to achieve up-tilt
angle).
3. Tighten the fixing screws.

Related product manuals