EasyManua.ls Logo

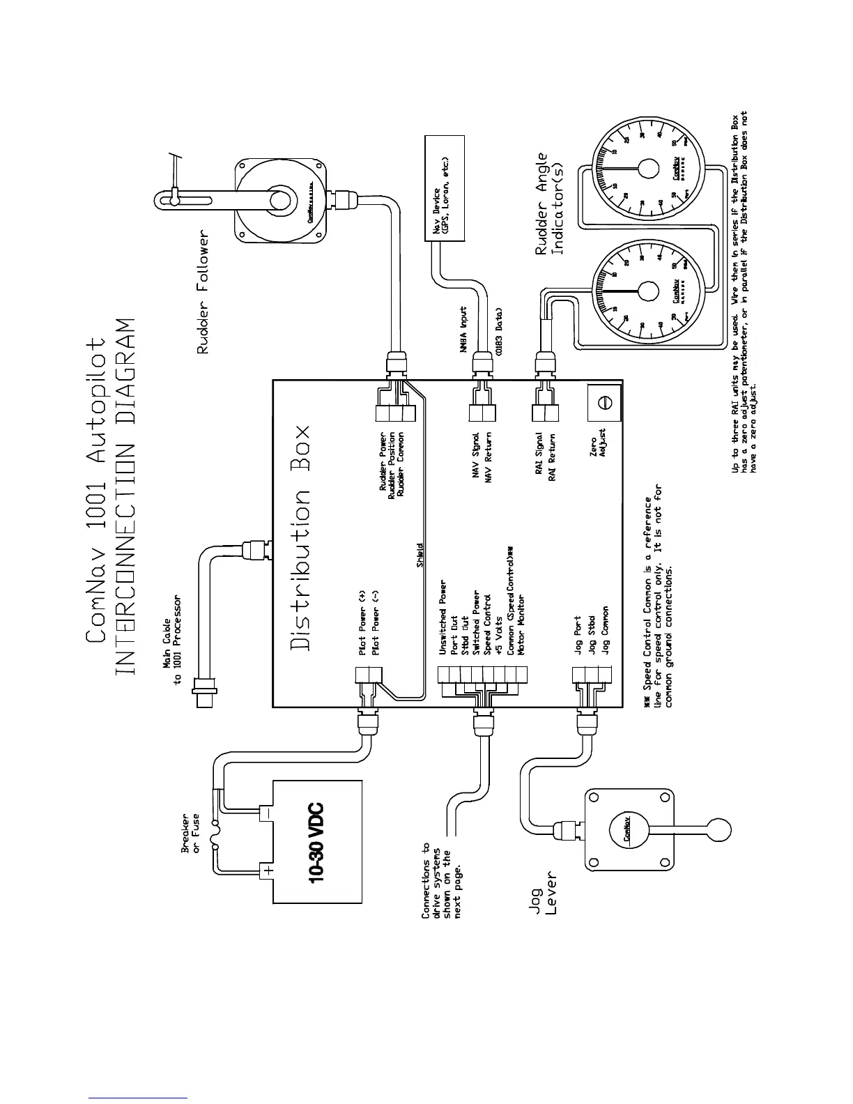
ComNav 1001 - 1001 Autopilot Interconnection Diagram

ComNav 1001
70 pages
Print Icon
To Next Page IconTo Next Page
To Next Page IconTo Next Page
To Previous Page IconTo Previous Page
To Previous Page IconTo Previous Page
Loading...
9
1001 AUTOPILOT INTERCONNECTION DIAGRAM

Related product manuals