EasyManua.ls Logo

Comtech EF Data XTD-400C - Reference Oscillator Drift Compensation

Comtech EF Data XTD-400C
158 pages
Print Icon
To Next Page IconTo Next Page
To Next Page IconTo Next Page
To Previous Page IconTo Previous Page
To Previous Page IconTo Previous Page
Loading...
MNC-0000-015 7 of 10 Revision F
Operation Addendum, Block Upconverter
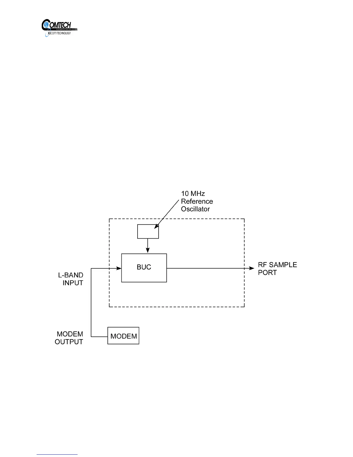
Reference Oscillator Drift Compensation
Over extended time periods, the 10MHz reference oscillator
changes frequency due to temperature / aging and results in a shift
in the output frequency that can exceed +/- 10kHz. Depending on
the system budget, the converter must be re-adjusted to stay within
its allocated transponder band and within the receiver acquisition
range. Check the system specification to determine the allowable
frequency drift range and periodically monitor the system output
frequency through the RF sample port.
In the event that the frequency drifts outside the acceptable range,
the unit must be either re-aligned by a Xicom certified maintenance
center or alternatively the modem L Band output must be adjusted
to correct the output frequency. Adjusting the L Band modem
frequency is the simplest method and is recommended. The drift
compensation scheme is summarized in Figure 4.
Figure 4, Drift Compensation Block Diagram
EAR EXPORT CONTROLLED: The information contained in this Manual refers or relates to a product that is subject
to the U.S. Export Administration Regulations (EAR). Transfer of data herein by any means to a Foreign Person,
whether in the U.S. or abroad, may require an export license from the U.S. Department of Commerce.

Table of Contents

Related product manuals