EasyManua.ls Logo

Daewoo DLX-26C2 - Overview; Composite Video, Y;C(S-Video) and SCART(CVBS, RGB) Composite Video

Daewoo DLX-26C2
74 pages
Print Icon
To Next Page IconTo Next Page
To Next Page IconTo Next Page
To Previous Page IconTo Previous Page
To Previous Page IconTo Previous Page
Loading...
-9-
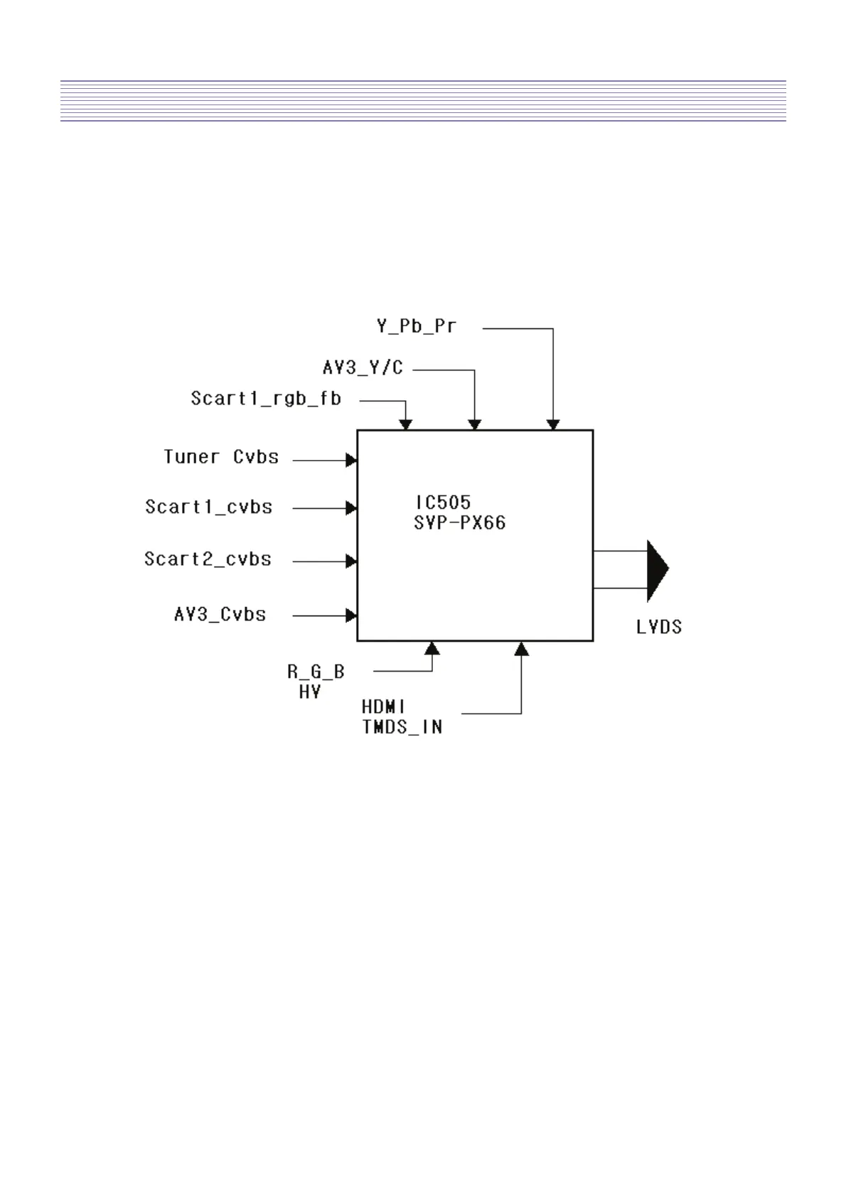
4-2. Overview
Digital PCB is Multi Media circuit board that can process various input signals such as
video, component, PC, HDMI, and analog TV signal.
4-2-1. Composite video, Y/C(S-Video) and SCART(CVBS, RGB) composite video
- Flow Chart of RF, Video, S-Video Signal
Description of Each Block

Related product manuals