EasyManua.ls Logo

Daikin DX20VC - Page 64

Daikin DX20VC
107 pages
Print Icon
To Next Page IconTo Next Page
To Next Page IconTo Next Page
To Previous Page IconTo Previous Page
To Previous Page IconTo Previous Page
Loading...
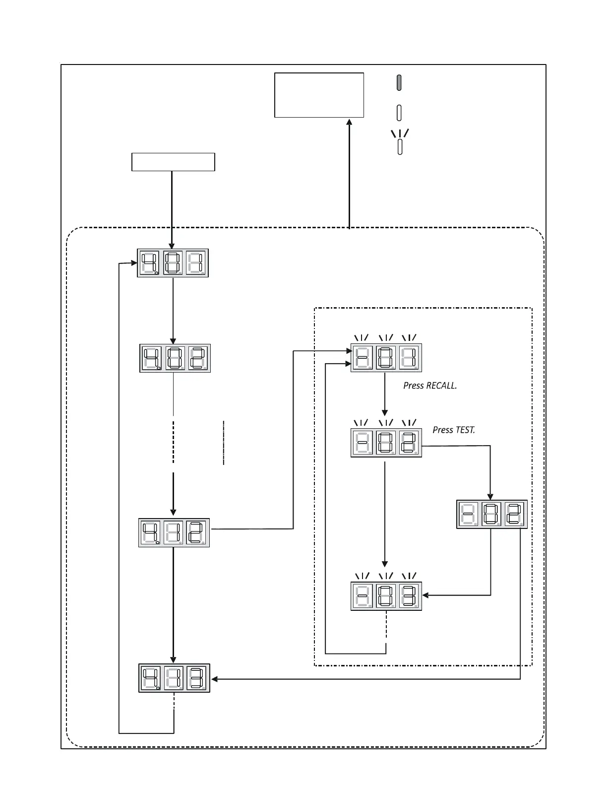
SETTING THE MODE DISPLAY-OUTDOOR UNIT
64
Press LEARN.
< Changing seng display >
Hold RECALL and TEST.
< SCREEN 4 >
SETTINGS MODE 2
< SCREEN 2 >
Press RECALL
to increase the number.
Press RECALL.
Press TEST
to change seng.
Press
RECALL
Press TEST to complete seng and return to seng mode.
Press
RECALL.
Press RECALL.
Press RECALL.
< SCREEN 0 >
OFF
ON
Blink interval:
0.4 sec. On - 0.4 sec. O
Press RECALL.
Press RECALL.
< SCREEN 4 >
Seng Mode 2 allows the user to
change system sengs. See table
in back of this secon.

Table of Contents

Related product manuals