EasyManua.ls Logo

Daikin RXG20L2V1B - Page 103

Daikin RXG20L2V1B
128 pages
Print Icon
To Next Page IconTo Next Page
To Next Page IconTo Next Page
To Previous Page IconTo Previous Page
To Previous Page IconTo Previous Page
Loading...
SiBE041401E Troubleshooting
Service Diagnosis 92
Troubleshooting
Check No.15
Refer to P.96
Check No.17
Refer to P.98
Check No.18
Refer to P.99
Check No.22
Refer to P.101
(R19545)
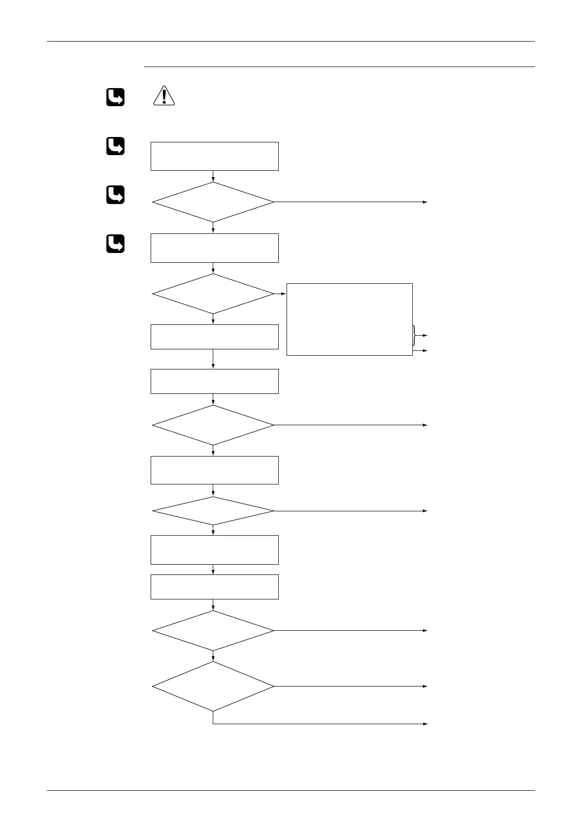
Caution
NO
YES
NO
YES
NO
YES
NO
YES
NO
YES
YES
NO
An output overcurrent may result from wrong internal wiring. If the system is interrupted by an output
overcurrent after the wires have been disconnected and reconnected for part replacement, check the
wiring again.
Check No. 22
Check No. 17
Check No.15
Turn off the power and disconnect
the harnesses U, V, and W.
Turn off the power, and reconnect
the harnesses. Turn on the power
again and start operation.
Turn off the power and turn it on
again to start the system. See if the
same error occurs.
Check the power supply voltage.
Monitor the power supply voltage,
discharge and suction pressures,
and other factors for a long term.
Possible causes
Momentary drop of power supply
voltage
Compressor overload
Short circuit
Check the installation condition.
Check with the inverter analyzer.
Check the power module.
Keep on using.
Check the connectors and
other components.
Fully open the stop valve.
Correct the power supply.
Replace the compressor.
Correct the power supply
or replace the outdoor unit
PCB.
Replace the outdoor unit
PCB.
Error again?
Stop valve fully open?
Voltage as rated?
Any LED off?
Normal?
Inverter analyzer:
RSUK0917C
Short circuit or
wire breakage between
compressor's coil
phases?
Be sure to turn off the power switch before connecting or disconnecting
connectors, or parts may be damaged.
Check the discharge
pressure.
Go to Check No. 18.

Table of Contents

Other manuals for Daikin RXG20L2V1B

Related product manuals