EasyManua.ls Logo

Daikin RXG20L2V1B - Piping Diagrams; Indoor Unit; Outdoor Unit

Daikin RXG20L2V1B
128 pages
Print Icon
To Next Page IconTo Next Page
To Next Page IconTo Next Page
To Previous Page IconTo Previous Page
To Previous Page IconTo Previous Page
Loading...
SiBE041401E Piping Diagrams
Appendix 112
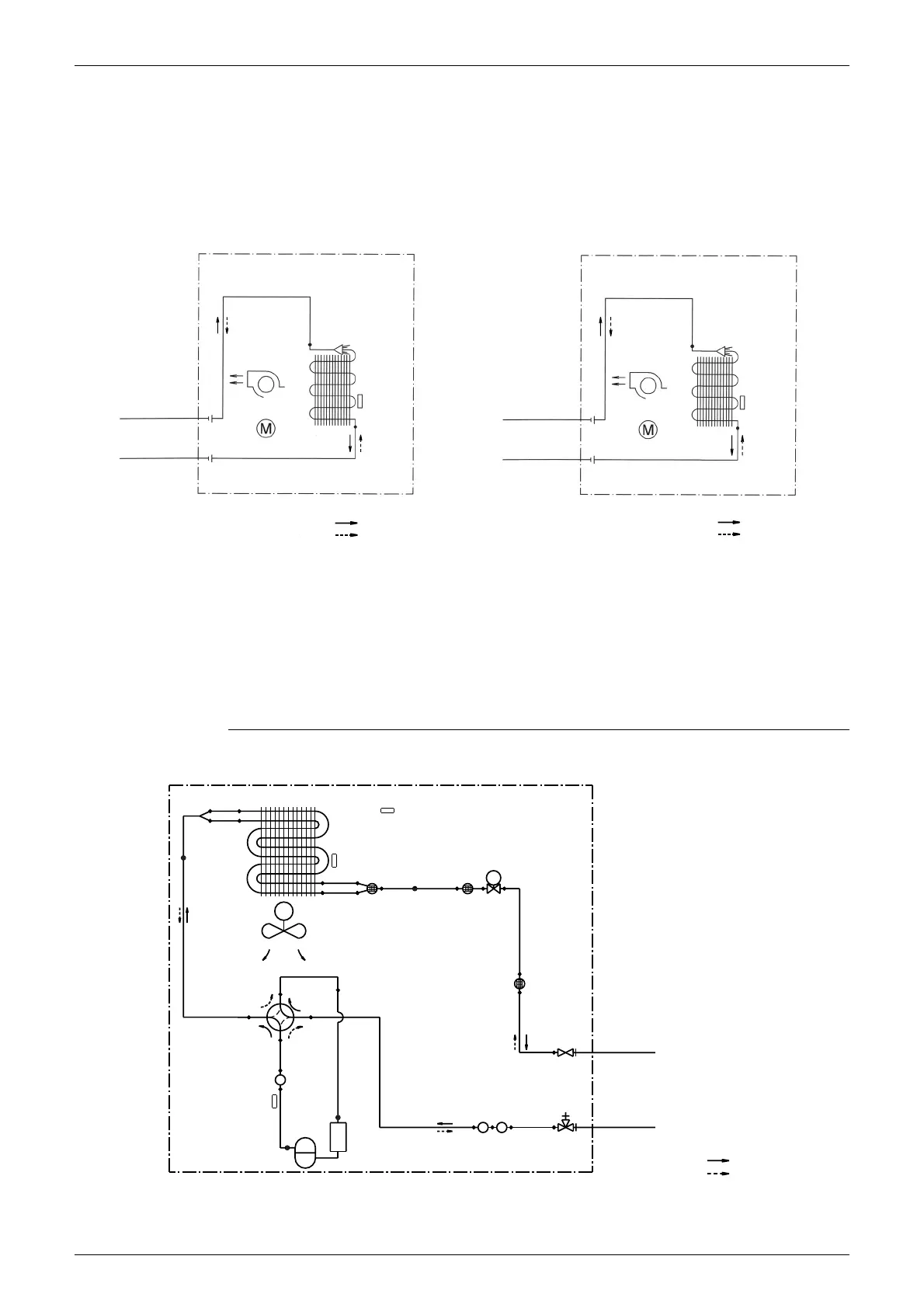
1. Piping Diagrams
1.1 Indoor Unit
1.2 Outdoor Unit
RXG20/25/35L2V1B
FTXG20/25/35LV1BW(S) FTXG50LV1BW(S)
INDOOR UNIT
6.4CuT
FIELD PIPING
6.4CuT
FIELD PIPING
9.5CuT
9.5CuT
COOLING
HEAT
EXCHANGER
THERMISTOR
ON HEAT EXCH.
CROSS FLOW FAN
FAN MOTOR
REFRIGERANT FLOW
HEATING
4D085645
INDOOR UNIT
6.4CuT
FIELD PIPING
6.4CuT
FIELD PIPING
12.7CuT
9.5CuT
COOLING
THERMISTOR
ON HEAT EXCH.
CROSS FLOW FAN
FAN MOTOR
REFRIGERANT FLOW
HEATING
4D085834
HEAT
EXCHANGER
OUTDOOR UNIT
HEAT EXCHANGER
7.0 CuT
7.0 CuT
9.5 CuT
EV
4.8 CuT
6.4 CuT
6.4 CuT
4.8 CuT
M
φ
.4.0
x
ID. 2.0 CuT
PROPELLER FAN
9.5 CuT
9.5 CuT
6.4 CuT
7.9 CuT
9.5 CuT
MUFFLER
9.5 CuT 9.5 CuT
COMPRESSOR
MUFFLERMUFFLER
7.9 CuT
ACCUMULATOR
REFRIGERANT FLOW
COOLING
HEATING
OUTDOOR TEMPERATURE
THERMISTOR
HEAT EXCHANGER
THERMISTOR
MUFFLER
WITH
FILTER
MUFFLER
WITH
FILTER
ELECTRONIC
EXPANSION
VALVE
MUFFLER
WITH
FILTER
FIELD PIPING
(
6.4 CuT
)
FIELD PIPING
(
9.5 CuT
)
GAS STOP
VALVE
LIQUID STOP
VALVE
FOUR WAY
VALVE
ON:HEATING
DISCHARGE PIPE
THERMISTOR
3D059586T

Table of Contents

Other manuals for Daikin RXG20L2V1B

Related product manuals