EasyManua.ls Logo

Daikin RYS50B2VMB - Removal of the Four Way Valve; Loosen Four Way Valve Coil Screw; Heat and Disconnect Four Way Valve Brazed Parts

Daikin RYS50B2VMB
28 pages
Print Icon
To Next Page IconTo Next Page
To Next Page IconTo Next Page
To Previous Page IconTo Previous Page
To Previous Page IconTo Previous Page
Loading...
Si00-876 Removal of the Four Way Valve
Removal Procedure 21
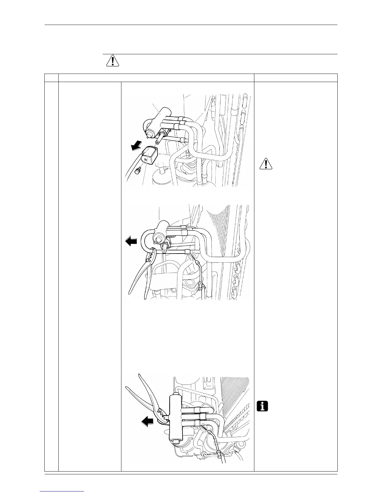
6. Removal of the Four Way Valve
Procedure Warning Be sure to wait for 10 minutes or more after turning off all power
supplies before disassembling work.
Step
Procedure Points
1
Loosen the screw of the
four way valve coil.
Provide a protective sheet or
a steel plate so that the
brazing flame cannot
influence peripheries.
Be careful so as not to break
the pipes by pressing it
excessively by pliers when
withdrawing it.
Caution
Be careful about the four way
valve, pipes and so on, which
were heated up by a gas
brazing machine, so as not to
get burnt your hands.
Cautions for restoration
1. Restore the piping by non-
oxidation brazing. Braze it
quickly when no nitrogen gas
can be used.
2. It is required to prevent the
carbonization of the oil inside
the four way valve and the
deterioration of the gaskets
affected by heat. For the
sake of this, wrap the four
way valve with wet cloth and
provide water so that the
cloth will not be dried and
avoid excessive heating.
(Keep below 120°C)
In case of the difficulty with
gas brazing machine
1. Disconnect the brazed part
where is easy to disconnect
and restore.
2. Cut pipes on the main unit by
a miniature copper tube
cutter in order to make it
easy to disconnect.
Note: Do not use a metal
saw for cutting pipes by all
means because the sawdust
come into the circuit.
2
Heat up the brazed part
of the four way valve
and disconnect.
Be sure to apply
nitrogen
replacement when
heating up the
brazed part.
3
Heat up every brazed
part in turn and
disconnect.
Four way valve
Four way valve coil
(R2734)
(R2735)
(R2736)

Related product manuals