EasyManua.ls Logo

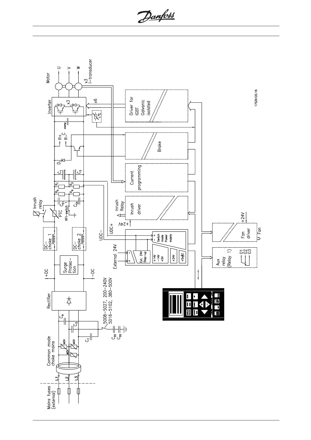
Danfoss VLT 5072 - Key Diagram for VLT 5000 Crane 5042, 5102 400-500 V

Danfoss VLT 5072
123 pages
Print Icon
To Next Page IconTo Next Page
To Next Page IconTo Next Page
To Previous Page IconTo Previous Page
To Previous Page IconTo Previous Page
Loading...
VL 5000 Crane
Key Diagram for VLT 5000 Crane 5042,
5102 400-500 V
MG.50.N4.02 - VLT is a registered Danfoss trademark
14

Other manuals for Danfoss VLT 5072

Related product manuals