EasyManua.ls Logo

Danuser EP Series - Parts

Danuser EP Series
36 pages
Print Icon
To Next Page IconTo Next Page
To Next Page IconTo Next Page
To Previous Page IconTo Previous Page
To Previous Page IconTo Previous Page
Loading...
26
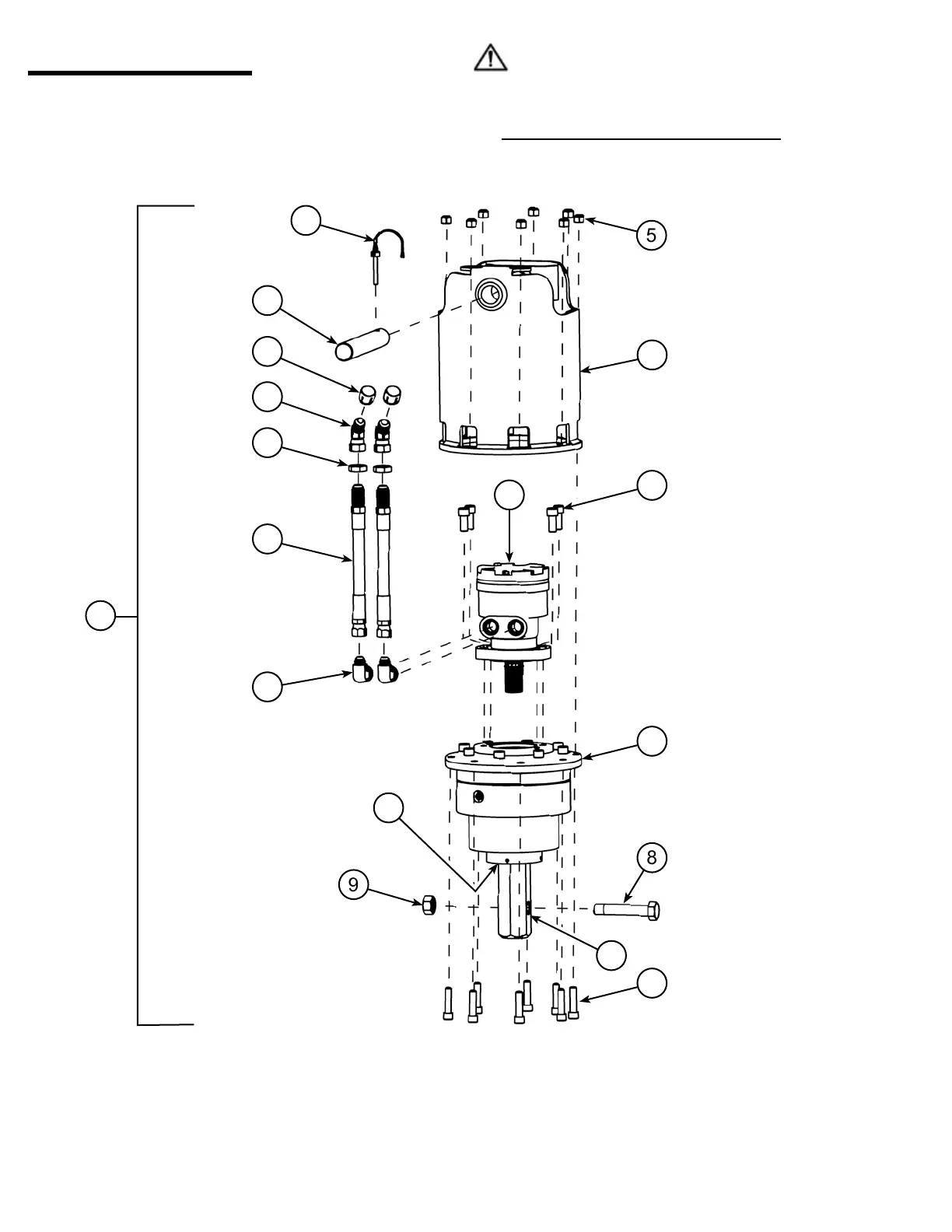
Parts
Drive Unit
18
1
17
12
13
5
9
8
WARNING
This product can expose you to chemicals known to the State of
California to cause cancer and birth defects or other reproductive harm.
For more information go to www.P65Warnings.ca.gov/product.
2
3
4
7
14
15
16
11
10
6

Related product manuals