EasyManua.ls Logo

Danuser EP6 Hex - Page 16

Danuser EP6 Hex
30 pages
Print Icon
To Next Page IconTo Next Page
To Next Page IconTo Next Page
To Previous Page IconTo Previous Page
To Previous Page IconTo Previous Page
Loading...
16
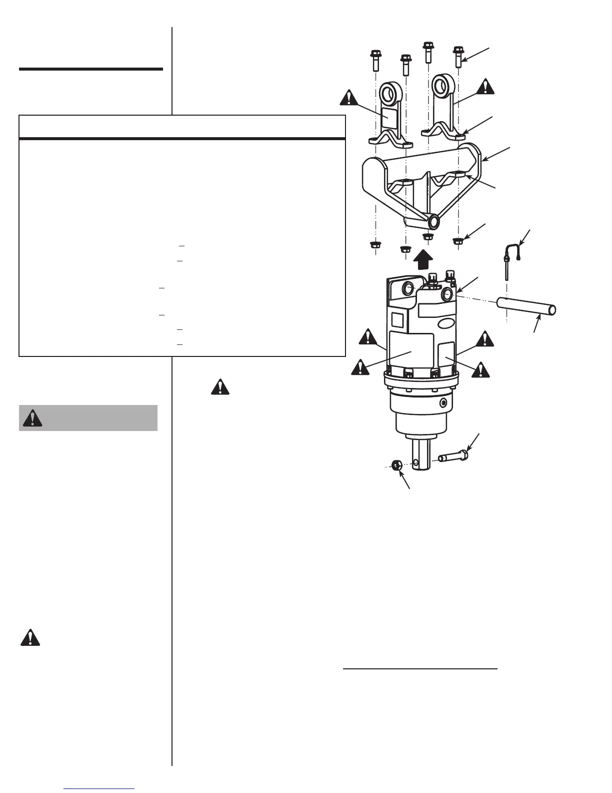
Assembly &
Installation
TLB & Excavator Mount
Drive unit and auger
exploded views and part lists
are detailed on separate pages
in this manual.
10
9
3
4
8
6
2
5
7
1
= Safety Sign
Location
REF. NO. PART NO. DESCRIPTION QTY.
1 ----- Drive Unit 1
2 10247 Knuckle Sub-Assembly 1
3 10193 Pin (1-1/4" x 9-1/2") 1
4 20012 Lock Pin 1
5 ----- Ear Assembly 2
6 10242 Tube-Clamp 2
7 10243 Bolt (5/8"
11 x 2", Gr. 5) 4
8 3092 Nut (5/8"
11) 4
9 10038 Special Retaining Bolt - 2" Hex
(3/4"
10 x 4", Gr. 8, 3/4" of thread)
1
10039 Special Retaining Bolt - 2-9/16" Rd.
(7/8"
9 x 4-1/4", Gr. 8, 3/4" of thread)
10 10041 Nut (3/4"
10) - 2" Hex 1
10042 Nut (7/8"
9) - 2-9/16" Round
STEP 1:
STEP 2:
STEP 3:
STEP 4:
Attach drive unit (1) to the knuckle sub-assembly (2) using pin (3). Secure pin
(3) with lock pin (4).
Remove bucket from dipperstick, and curl cylinder pin connections. The
dipperstick pin will be used to attach the knuckle assembly to the dipperstick.
The curl cylinder pin will not be required for drive unit installation.
Space the two ear assemblies (5) to the width of the dipperstick, and secure
them to the knuckle sub-assembly (2) using tube-clamps (6), bolts (7), and nuts
(8). The ear assemblies should be spaced evenly from the center of the
knuckle sub-assembly and the safety signs should be facing out. Nuts (8)
must be torqued to 50 ft.-lbs. Nuts (8) should be checked and re-torqued after
the first hour of use.
Attach knuckle assembly/drive unit to the dipperstick using the dipperstick pin
removed from the bucket in STEP 2. Secure the bucket pin per vehicle
manufacturers recommendations.
Proceed to STEP 5 on page 18.
Personal protection
equipment including
hard hat, safety glasses,
safety shoes, and gloves
are recommended during
assembly, installation,
operation, maintenance,
service, removal, or
movement of the earth
auger. Do not allow long
hair, loose fitting
clothing, or jewelry to be
around moving and/or
rotating parts.
WARNING
Because of the weight of
some components, and
because some
components are difficult
to balance, two people
are required for safe
assembly and installation
of this equipment.
CAUTION

Related product manuals