EasyManua.ls Logo

dbx QUANTUM - Using the QUANTUM Wizard; Signal Flow Overview

dbx QUANTUM
94 pages
Print Icon
To Next Page IconTo Next Page
To Next Page IconTo Next Page
To Previous Page IconTo Previous Page
To Previous Page IconTo Previous Page
Loading...
Getting Started
®
QUANTUM User Manual
4
Section 1
QUANTUM
When working with the sidechain EQ, or the in-line EQ, the curve window changes to show a
graphical representation of the 5 parametric bands in a frequency grid. Your adjustments to the
5 bands are shown in real time.
Additionally, the De-Esser has its own graphical way of displaying its parameters. The frequency
is shown on the bottom, or X axis, and the low frequency rolloff is shown on the side, or Y
axis.
The easiest way to program the QUANTUM is using the Wizard. To access the Wizard, press
and hold the PROGRAM button.
Once in the Wizard mode, you will select the task that you are performing. The QUANTUM
will automatically choose the correct chain type for your task. If you select Mastering or Mixing,
the Wizard will then have you choose your music type. After you have selected the music type,
you will then select the type of EQ, gating, compression, and limiting. These are all influenced
by the music type. For example, a "Light" compression setting with the music type set to "Hard
Rock" will be heavier than "Heavy" compression with the music type set to "Classical".
If you select "Tracking", then you will be asked to set up either channel one, channel two, or
stereo. If you are tracking two separate instruments in dual mono, then you can go through
the Wizard twice, the first time setting up channel one and the second time setting up channel
two. If at any time you decide you want to quit without the Wizard setting up a program for
you, you may press the PROGRAM button to exit the Wizard.
Once all of the questions have been answered, the QUANTUM will display "WORKING..." and
then a custom setup will appear tailored to your application. If you are working in a stereo
setup, the QUANTUM will allow you to optimize your output gain. To optimize the output gain,
push the EDIT ALL/BAND button while the loudest part of the program material is passing
through the Quantum. Press the button again when the peak has passed. The Wizard will opti-
mize the output level so that the highest peak is set to 0 dBFS. The Wizard will then return
you to the Program mode. If the PROGRAM button is pressed while gain optimizing, the Wizard
will exit without changing the output level. This setup can be further adapted to your taste and
saved for later use.
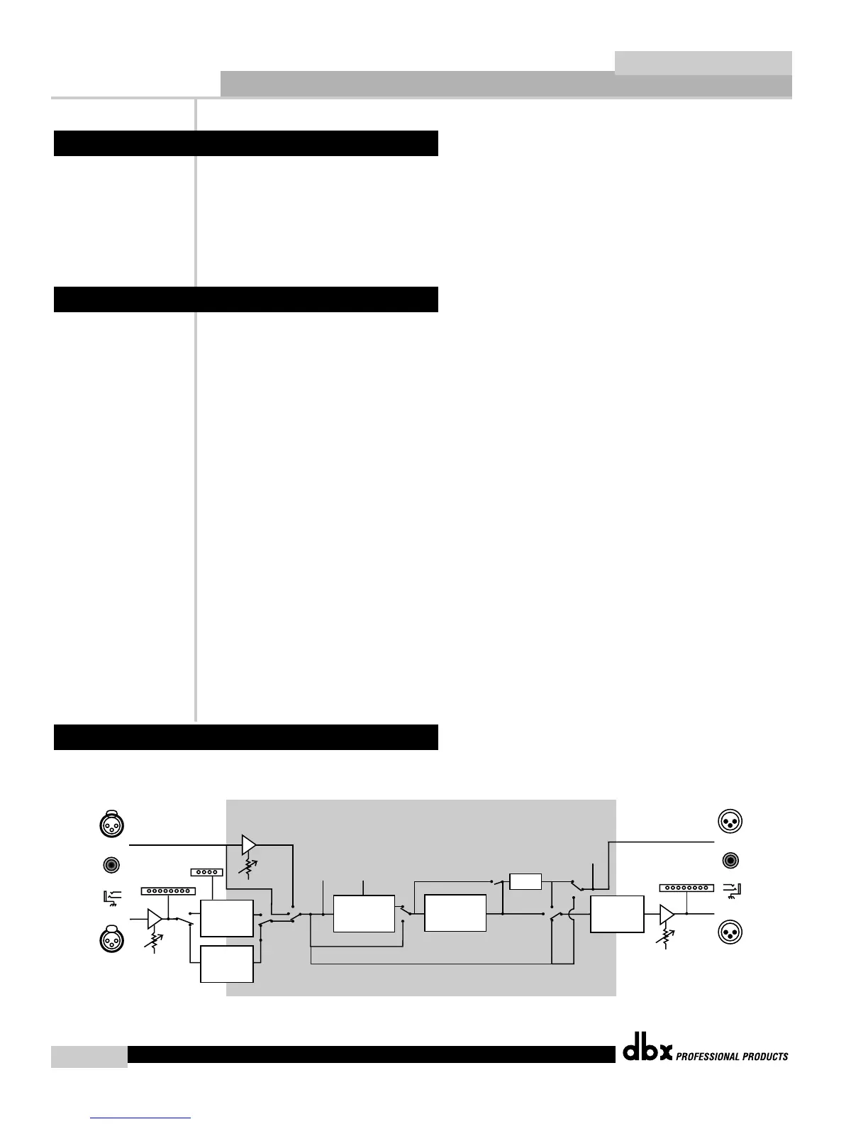
The following illustration shows how audio signals flow through the QUANTUM.
analog
input
analog
input
meter
TSE
meter
analog
input
control
digital
input
control
digital
input
analog
output
digital
input
meter
gain
reduction
meter
TYPE IV™
Conversion
digital
output
meter
digital
output
analog
output
meter
analog
output
control
DSP (Software - Based)
Operations
Bypass
Clone Bypass
(push and hold Bypass for 2 seconds)
D / A
Convertor
A /D
Convertor
Sample Rate
Converter
Dynamics
Processor
Dither
Fig 1.2
1.4 Signal Path
1.3 QUANTUM Wizard
1.2 Front Panel (cont.)

Table of Contents

Other manuals for dbx QUANTUM

Related product manuals