EasyManua.ls Logo

Defiant MST18920lwdf - Pre-Installation Preparation; Preparation and Requirements Checklist

Defiant MST18920lwdf
22 pages
Print Icon
To Next Page IconTo Next Page
To Next Page IconTo Next Page
To Previous Page IconTo Previous Page
To Previous Page IconTo Previous Page
Loading...
4
Wall mount
position
Eave mount
position
Before beginning assembly of product, make sure all
parts are present. Compare parts with package contents
list and hardware contents. If any part is missing
or damaged, do not attempt to assemble the product.
Estimated Assembly Time: 30 minutes
Note: Fixture should be installed by persons
with experience in household wiring or by a qualified
electrician. The electrical system and the method of
electrically connecting this fixture to it must be in
accordance with the National Electrical Code and
local building codes.
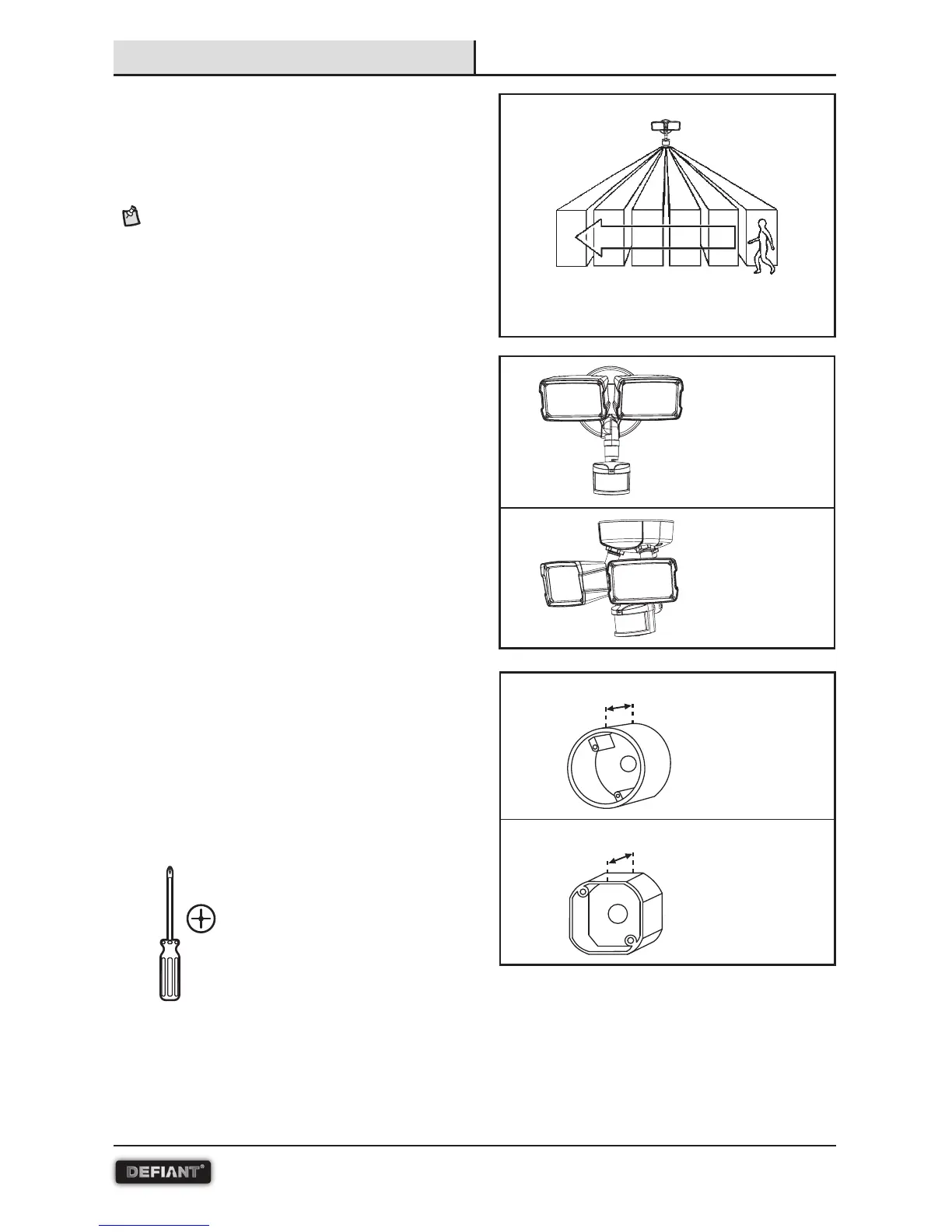
Install the motion sensor 8–12 feet above
the ground. Motion sensor is less sensitive
above 12 feet.
Locate motion sensor so motion moves across
detection zone.
Locate sensor away from heat producing sources
to prevent false triggering. Also be very careful not
to include objects such as windows, white walls
and water in the detection zone.
Locate fixture away from moving objects such as
trees and street traffic.
Do not install more than one motion-activated
floodlight on one wall switch.
Fixture can be wall or eave mounted.
Coverplate mounts to recessed mounted standard
junction boxes. Junction box must be at least
1-1/2 inch in depth for proper installation for
recessed mount application.
REQUIRED ITEM (SOLD SEPARATELY):
Clear weatherproof silicone caulk
TOOLS REQUIRED
Philips
screwdriver
Sensor detects motion that moves
across the detection zone.
Pre-Installation
Round
junction box
Octagonal
junction box
1-1/2 in.
1-1/2 in.

Related product manuals