EasyManua.ls Logo

Delta ASD-A2-3043 Series - 5.6.6 Mechanical Resonance Suppression Method

Delta ASD-A2-3043 Series
721 pages
To Next Page IconTo Next Page
To Next Page IconTo Next Page
To Previous Page IconTo Previous Page
To Previous Page IconTo Previous Page
Loading...
ASDA-A2 Chapter 5 Trial operation and Tuning
Revision February, 2017 5-17
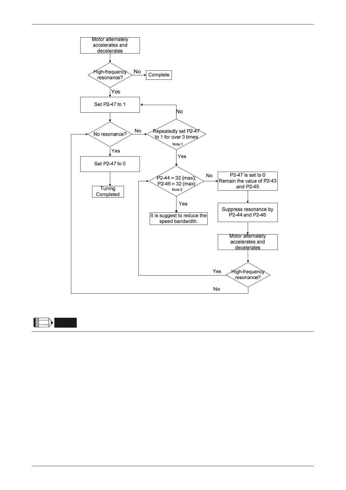
NOTE
1. Parameter P2-44 and P2-46 are the setting value of resonance suppression. If the value has been set
to the maximum (32dB), and still cannot suppress the resonance, please reduce the speed bandwidth.
After setting P2-47, users can check the value of P2-44 and P2-46. If the value of P2-44 is not 0, it
means the resonance frequency exists in the system. Then, users can access P2-43 to see the
resonance frequency (Hz). When there is another resonance frequency, the information will be shown in
P2-45 and p2-46.
2. If resonance still exists, repeatedly set P2-47 to 1 for 3 times and manually adjust the setting of
resonance.

Table of Contents

Other manuals for Delta ASD-A2-3043 Series

Related product manuals