EasyManua.ls Logo

Delta ASD-A2R-0221 Series - Gain Adjustment of Speed Loop

Delta ASD-A2R-0221 Series
660 pages
To Next Page IconTo Next Page
To Next Page IconTo Next Page
To Previous Page IconTo Previous Page
To Previous Page IconTo Previous Page
Loading...
Chapter 6 Control Mode of Operation ASDA-A2R Series
Revision December, 2014
6-21
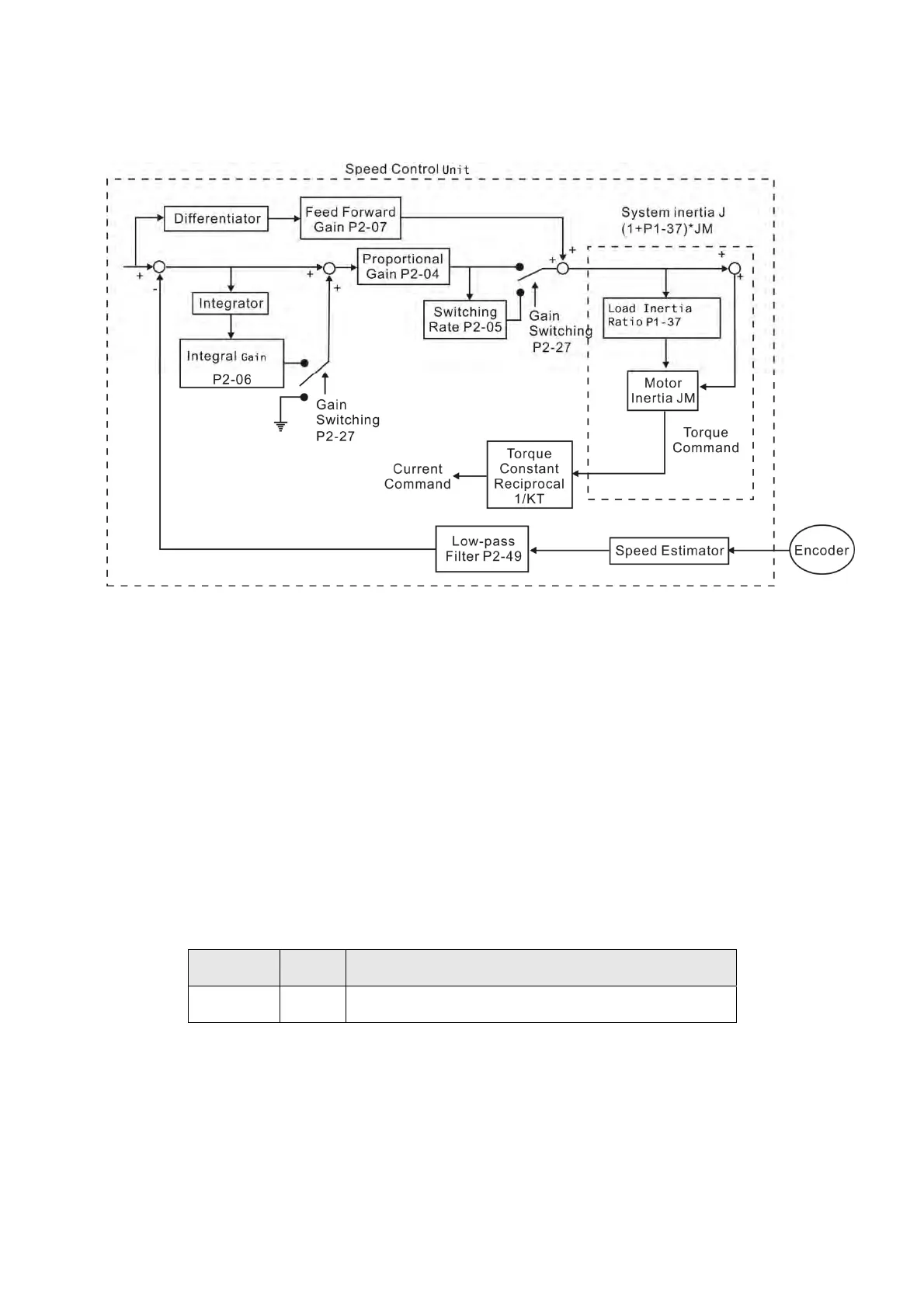
6.3.6 Gain Adjustment of Speed Loop
Here introduces the function of speed control unit. The following shows its structure.
Inertia ratio is for rotary motor; while total weight of movable section and load is for
linear motor.
Many kinds of gain in speed control unit are adjustable. Two ways, manual and auto, are
provided for selection.
Manual: All parameters are set by users and the auto or auxiliary function will be disabled
in this mode.
Auto: General load inertia estimation is provided. It adjusts the parameter automatically.
Its framework is divided into PI auto gain adjustment and PDFF auto gain
adjustment.
Related parameter: Please refer to Chapter 8 for further information.
Parameter P2-32 can be used to adjust the gain.
Parameter Abbr. Function
P2-32 AUT2 Tuning Mode Selection
Rotar
y
motor:

Table of Contents

Related product manuals