EasyManua.ls Logo

Denso RC5 - Page 141

Denso RC5
176 pages
Print Icon
To Next Page IconTo Next Page
To Next Page IconTo Next Page
To Previous Page IconTo Previous Page
To Previous Page IconTo Previous Page
Loading...
121
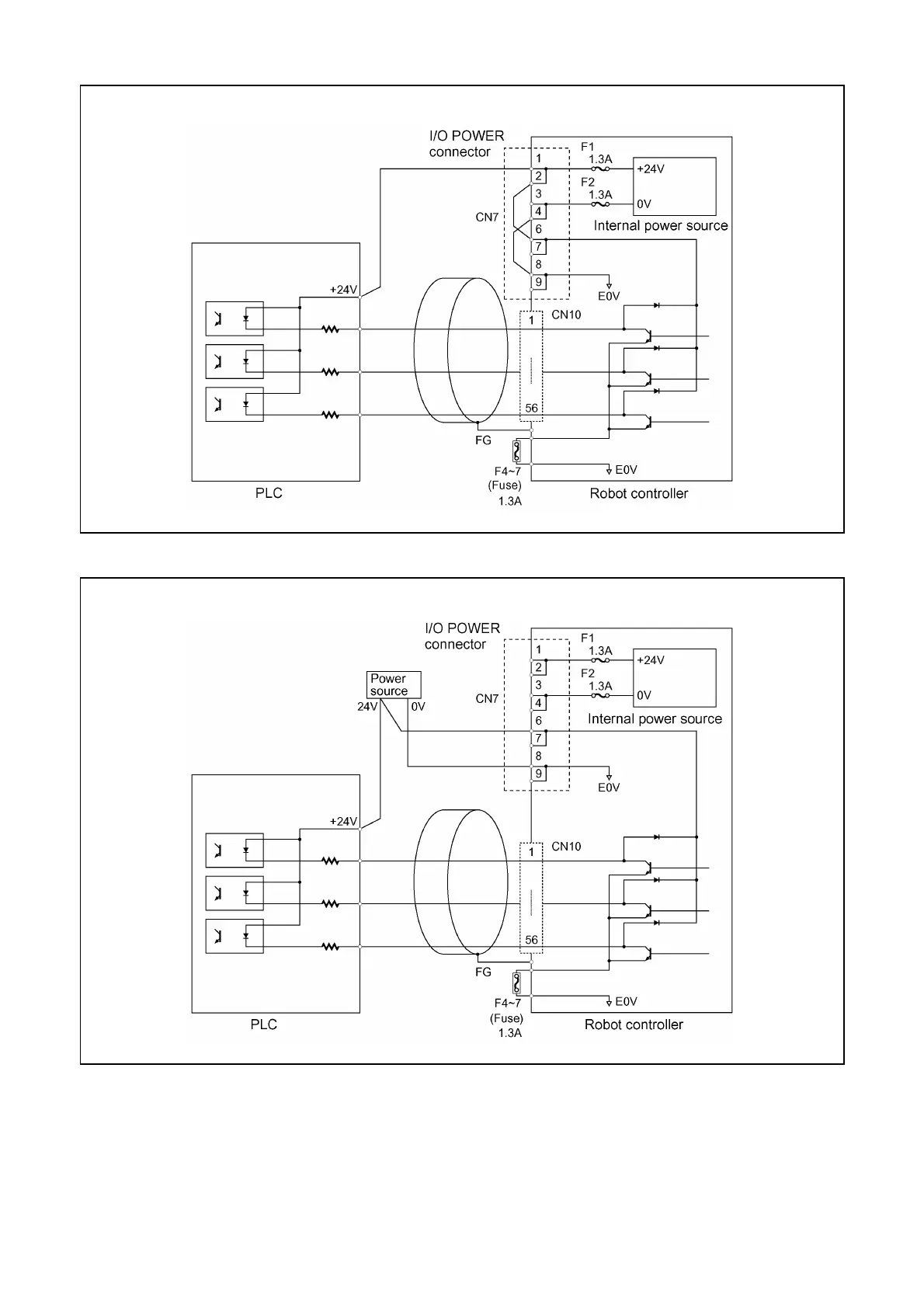
(When the internal power source is used)
(When an external power source is used)
User-Output and System-Output Circuits (NPN type)

Table of Contents

Related product manuals