EasyManua.ls Logo

Denso RC5 - 1.4 Controller System Configuration; 1.4.1 Internal Circuits (Typical Configuration)

Denso RC5
176 pages
Print Icon
To Next Page IconTo Next Page
To Next Page IconTo Next Page
To Previous Page IconTo Previous Page
To Previous Page IconTo Previous Page
Loading...
11
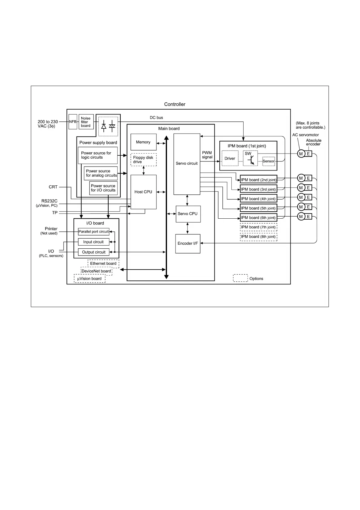
1.4 Controller System Configuration
1.4.1 Internal Circuits of the Controller (Typical configuration)
The block diagram below shows the internal circuits of an RC5 controller designed for
a 6-joint robot.

Table of Contents

Related product manuals