EasyManua.ls Logo

Diamond DA435HA - Installation Kit

Diamond DA435HA
38 pages
Print Icon
To Next Page IconTo Next Page
To Next Page IconTo Next Page
To Previous Page IconTo Previous Page
To Previous Page IconTo Previous Page
Loading...
DA435HA: 4-10
1 TYP (4)
2 TYP (4)
3 TYP (4)
51712642.01: 20010925
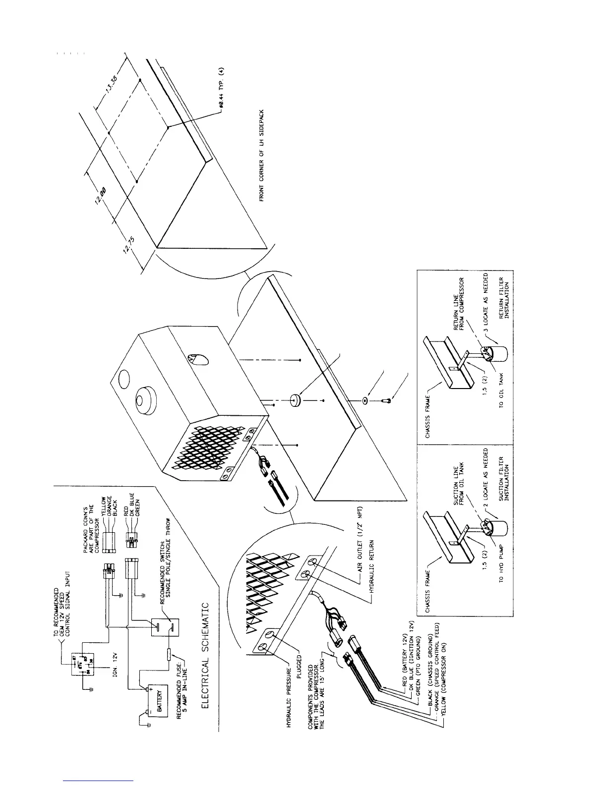
INSTALLATION KIT (51712642)
(THROUGH 3-15-05)
(INSTALLATION DWG 99901281 SHOWN)
ITEM PART NO. DESCRIPTION QTY
1. 76391527 BUMPER-RUBBER 4
2. 938206107 WASHER 3/8 FLAT GR8 (938206107) 4
3. 929106200 BOLT 3/8-16X2 HHGR5 4
4. 99901281 DRAWING 1