EasyManua.ls Logo

DIGITAL DELAY Mega 475 - Wiring the Mega 475; Mounting the Mega 475

DIGITAL DELAY Mega 475
66 pages
Print Icon
To Next Page IconTo Next Page
To Next Page IconTo Next Page
To Previous Page IconTo Previous Page
To Previous Page IconTo Previous Page
Loading...
- 64 -
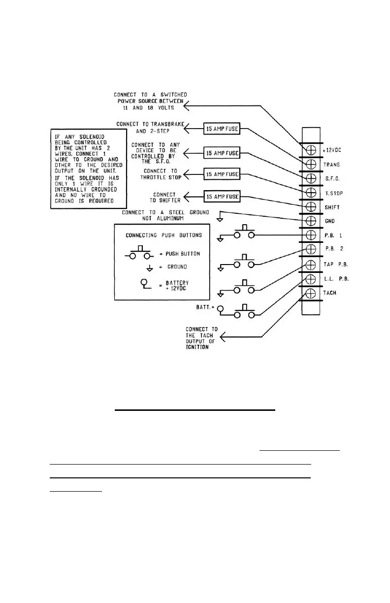
Wiring the Mega 475
Mounting the Mega 475
For complete viewing of the large LCD, care should
be taken when mounting the unit to make sure that the
display is angled towards the driver’s eyes. Before mounting
the Mega 475, place the box in the desired location and
check the legibility of the display in both day and night
conditions.

Related product manuals