EasyManua.ls Logo

Dimplex 6909660400 - Page 29

Dimplex 6909660400
66 pages
Print Icon
To Next Page IconTo Next Page
To Next Page IconTo Next Page
To Previous Page IconTo Previous Page
To Previous Page IconTo Previous Page
Loading...
7
Installation
AVERTISSEMENT : L’utilisateur qui
ne respecte pas la marche à suivre
ci-dessous pendant l’installation de
la cassette risque d’endommager
l’équipement et s’expose à des
risques d’incendie, de blessure
grave, de maladie ou de décès.
AVERTISSEMENT : Ne pas tenter
d’installer soi-même de nouvelles
prises ni de nouveaux circuits
électriques. Pour réduire les risques
d’incendie, de décharge électrique
et de blessure, toujours faire appel
à un électricien certié.
AVERTISSEMENT : S’assurer que
l’interrupteur MARCHE/ARRÊT
(ON/OFF) est placé à la position
d’arrêt (Off) (se référer à la section
Utilisation) et s’assurer de couper
le circuit sur lequel sera branché
l’appareil à la boîte électrique
jusqu’à la n de l’installation.
!
NOTE: Lire toutes les instructions
avant d’installer l’appareil.
Plomberie de la cassette
Les appareils sont équipés de
contenants pour le remplissage manuel
du réservoir. La plomberie de l’appareil
peut être acheminée directement en
utilisant le kit d’accessoires Dimplex
- CDFIPLUMB-KIT, offerte chez votre
dépositaire Dimplex, ou avec un tube
standard de ¼ po (6,4 mm), en suivant
les instructions ci-dessous.
!
NOTE: La trousse d’accessoires
de plomberie est conçue pour une
utilisation avec une tuyauterie en
cuivre.
MISE EN GARDE : S’assurer que
tous les raccords de plomberie sont
conformes aux exigences du code de
plomberie local.
MISE EN GARDE : S’assurer
que les raccords de plomberie sont
effectués dans un endroit accessible
pour pouvoir fermer l’eau facilement
pendant les entretiens périodiques.
1. Trouver une conduite d’eau froide
près de l’emplacement désiré de
la cassette.
!
NOTE: L’eau du robinet peut être
utilisée pour le modèle Opti-myst
MD
,
pourvu qu’elle ne soit pas considérée
comme de l’eau dure. Si l’eau est dure,
l’utilisation d’eau adoucie ou ltrée est
recommandée.
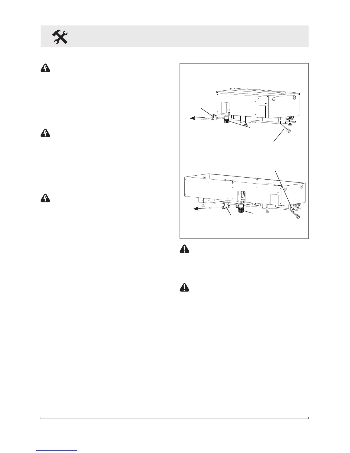
Figure 1
Clapet
à bille
Vers la
source
d’alimentation
en eau
Clapet à
bille
Vers la source
d’alimentation en eau
CDFI500-PRO
CDFI1000-PRO
Filtre
Filtre
Fil à 2 broches
pour la connexion
à l'appareil de
chauffage facultatif

Other manuals for Dimplex 6909660400

Related product manuals