EasyManua.ls Logo

Dimplex DHW 300 - Sicherheits- und Regeleinrichtungen; Temperaturfühler

Dimplex DHW 300
Print Icon
To Next Page IconTo Next Page
To Next Page IconTo Next Page
To Previous Page IconTo Previous Page
To Previous Page IconTo Previous Page
Loading...
DE-4 451905.66.01a · FD 0102 www.glendimpex.de
Deutsch DHW 300 - DHW 300+
2.3 Sicherheits- und
Regeleinrichtungen
Die Warmwasser-Wärmepumpe ist mit folgenden Sicherheits-
einrichtungen ausgerüstet:
Hochdruckpressostat (HD)
Der Hochdruckpressostat schützt die Wärmepumpe vor unzu-
lässig hohem Betriebsdruck im Kältemittelkreislauf. Im Störfall
schaltet der Pressostat die Wärmepumpe ab. Die Wiederein-
schaltung der Wärmepumpe erfolgt zeitverzögert nach Druck-
absenkung im Kältemittelkreislauf.
Sicherheitstemperaturbegrenzer für Elektroheizung
(STB)
Der STB verhindert die Erzeugung unzulässig hoher Tempera-
turen im Warmwasserspeicher.
Bei Überschreitung des eingestellten Schaltwertes (99 °C) wird
die Elektroheizung abgeschaltet.
Eine Wiedereinschaltung der Elektroheizung ist erst möglich,
wenn die Warmwassertemperatur auf 90 °C abgesunken ist
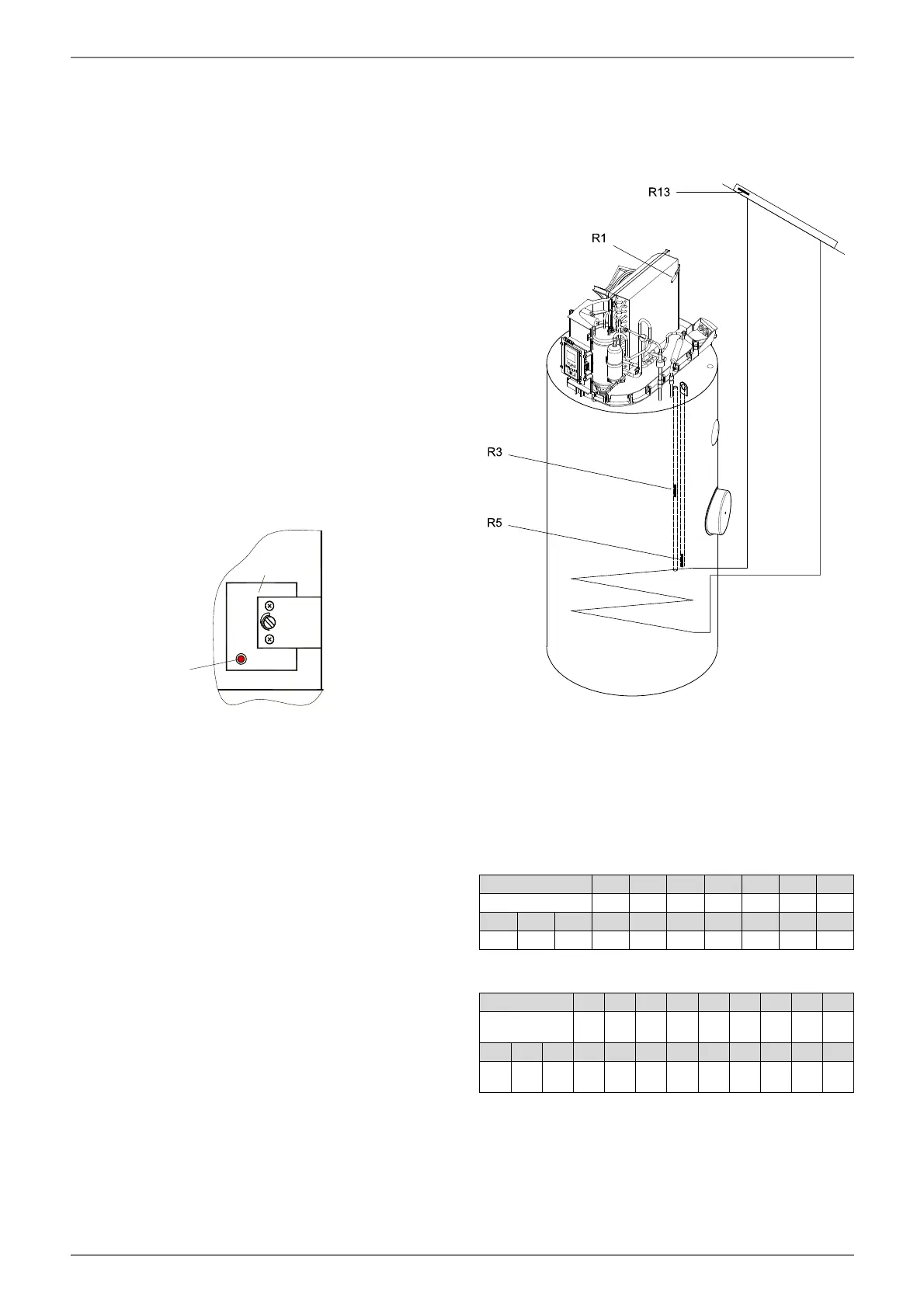
und danach der Rückstellknopf (siehe Bild) am STB (unter Flan-
schabdeckung) gedrückt wird (darf nur von fachkundigen Per-
sonen erfolgen!).
Die Warmwasser-Wärmepumpe ist weiter mit folgenden Regel-
und Steuerungseinrichtungen ausgerüstet:
Temperaturregelung-Wärmepumpe
Die Temperaturkontrolle im Warmwasserspeicher und die Re-
gelung für den Verdichterbetrieb übernimmt die Steuerelektro-
nik. Elektronische Fühler erfassen die Wassertemperatur, diese
wird in Abhängigkeit vom eingestellten Sollwert geregelt. Die
Einstellung des gewünschten Temperaturniveaus (Sollwert) er-
folgt über die Tastatur an der Bedienblende.
Lufteintrittstemperatur
Der an die Regelung angeschlossene Fühler erfasst die Tempe-
ratur in der Warmwasser-Wärmepumpe direkt vor dem Ver-
dampfer (Luftansaugtemperatur). Bei einer Unterschreitung
des fest eingestellten Schaltwertes (7 ±1 °C, Rückschaltwert 2
K,
Verzögerung 30 min) wird die Warmwasserbereitung automa-
tisch vom Wärmepumpenbetrieb auf Heizstabbetrieb umge-
schaltet.
2.4 Temperaturfühler
2.4.1 Einbaulage Temperaturfühler
R1 Fühler Lufteintritt
R3 Fühler Warmwasser
R5 Fühler Warmwasser regenerativ (optional)
R13 Fühler Regenerativ (optional)
2.4.2 Messwerte Temperaturfühler
Messwerte NTC 10 Fühler (R1, R3, R5)
Messwerte PT 1000 Fühler (R13)
85°
30°
F17
STB
Rückstellknopf
Temperatur in °C -20 -15 -10 -5 0 5 10
NTC-10 in kΩ 67,7 53,4 42,3 33,9 27,3 22,1 18,0
15 20 25 30 35 40 45 50 55 60
14,9 12,1 10,0 8,4 7,0 5,9 5,0 4,2 3,6 3,1
Temperatur in °C -30 -20 -10 0 10 20 30 40 50
PT 1000 in k
Ω
0,88
2
0,02
2
0,96
1
1,00
1,03
9
1,07
8
1,11
7
1,15
5
1,19
4
60 70 80 90 100 110 120 130 140 150 160
1,23
2
1,27
1
1,30
9
1,34
7
1,38
5
1,42
3
1,46
1
1,49
8
1,53
6
1,57
3
1,61
1

Table of Contents

Related product manuals