EasyManua.ls Logo

Dolmar LT-210 - Operation and Stopping; Engine Starting Procedure; Cold Start Method; Warm Engine Start

Dolmar LT-210
47 pages
Print Icon
To Next Page IconTo Next Page
To Next Page IconTo Next Page
To Previous Page IconTo Previous Page
To Previous Page IconTo Previous Page
Loading...
10
Observe the applicable accident prevention regulations!
Starting
Move at least 3m away from the place of refuelling. Place the String trimmer on a clean piece of ground taking care that the cutting tool does no
t
come into contact with the ground or any other objects.
Cold start
For machine with Loop Handle
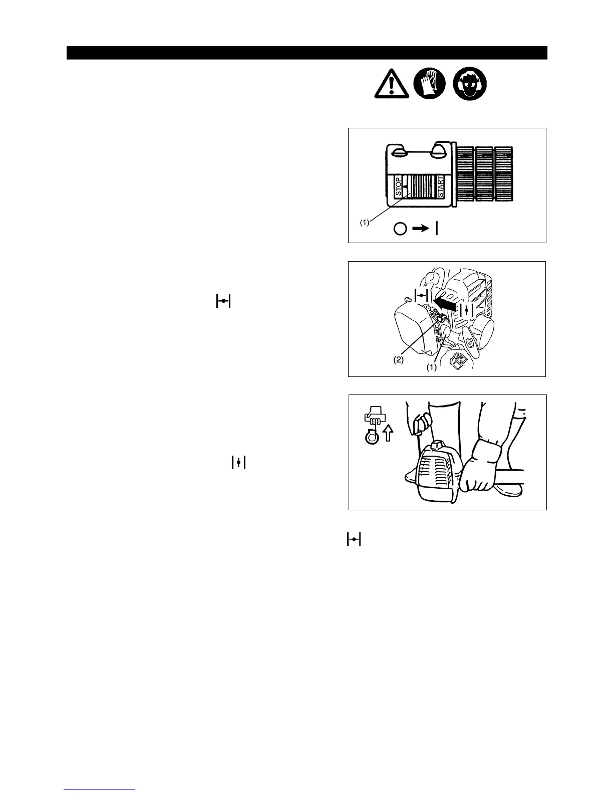
Push the I-O switch (1) in the direction shown by the arrow.
First place the machine on the ground.
Give a gentle push on the primer pump (1) repeatedly (7-10 times) until lfuel
comes into the primer pump.
Push the choke button (2) to the position “
Firmly hold the clutch case by your left hand, as illustrated.
Slowly pull the starter grip until resistance is felt and continue with a smart pull.
Do not pull out the starter rope to its full extent and do not allow the starter
handle to be retracted without control, but ensure that it is retracted slowly.
Repeat the starting operation until initial ignitions are heard.
When the engine starts, please open the throttle lever a little. The choke button
being automatic, it returns to original position “ ”.
Run the engine for approximately one minute at a moderate speed before applying full throttle.
Note: If the starter handle is pulled repeatedly when the choke button remains at “ position, the engine will not start easily due to excessive
fuel intake.
In case of excessive fuel intake, remove the spark plug and pull the starter handle slowly to remove excess fuel. Also, dry the electrode
section of the spark plug.
Caution during operation:
If the throttle lever is opened fully in a no-load operation, the engine rotation is increased to 10,000 /min or more. Never operate the engine at a
higher speed than required and at an approximate speed of 6,000 - 8,000 /min.
Starting the warm engine
As described above, except without moving the choke buttun.
POINTS IN OPERATION AND HOW TO STOP

Other manuals for Dolmar LT-210

Related product manuals