EasyManua.ls Logo

Dunkirk DXL-125 - Page 17

Dunkirk DXL-125
32 pages
Print Icon
To Next Page IconTo Next Page
To Next Page IconTo Next Page
To Previous Page IconTo Previous Page
To Previous Page IconTo Previous Page
Loading...
17
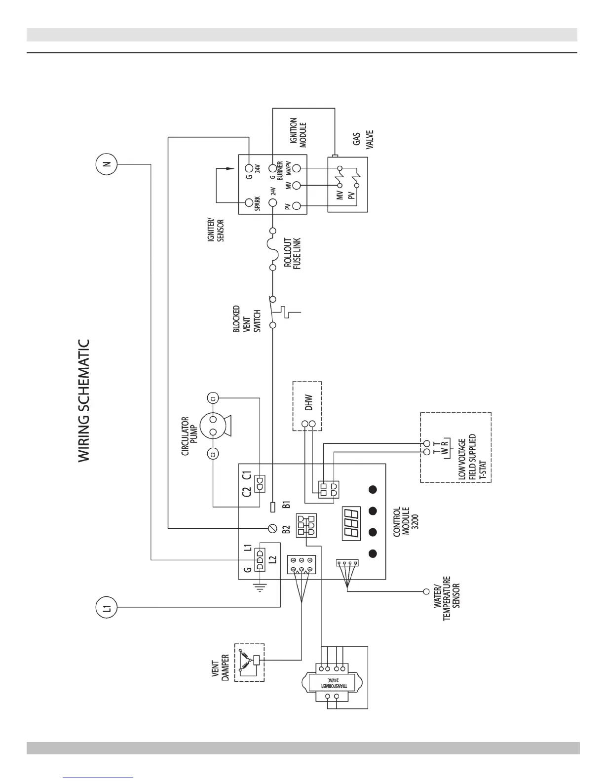
WIRING DIAGRAM - INTERMITTENT IGNITION
Figure 15 - Intermittent Electronic Ignition Control (240009076)
P/N 240009041, Rev. C [04/30/2017]

Related product manuals