EasyManua.ls Logo

Dyna-Glo BFSS10LPT-2P - Instalación

Dyna-Glo BFSS10LPT-2P
60 pages
Print Icon
To Next Page IconTo Next Page
To Next Page IconTo Next Page
To Previous Page IconTo Previous Page
To Previous Page IconTo Previous Page
Loading...
40
INSTALACIÓN
AVISO: Este calefactor está diseñado para ser usado como calor complementario. Use este
calefactor junto con su sistema de calefacción primario. No instale este calefactor como su fuente
primaria de calor.
ADVERTENCIA: Un técnico calicado debe instalar el calefactor. Siga todos los códigos locales.
ADVERTENCIA: Mantenga los espacios libres mínimos. De ser posible, proporcione espacios
libres más grandes que los requeridos desde el piso, techo y pared contigua.
PRECAUCIÓN: Este calentador crea corrientes de aire caliente. Estas corrientes mueven al
calor a las supercies de la pared contiguas al calefactor. La instalación del calefactor cerca de
revestimientos de vinilo o de tela para pared o la operación del calefactor donde existan
impurezas (como humo de tabaco, candelas aromáticas, líquidos de limpieza, aceite o lámparas
de queroseno, etc.) en el aire, puede hacer que las paredes se decoloren.
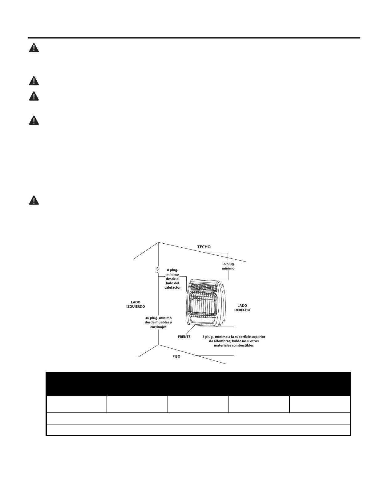
ESPACIOS LIBRES PARA COMBUSTIBLES
Siga las siguientes intrucciones con mucho cuidado. Este calefactor se puede montar en la pared o
en el piso usando las patas soportes (Modelos seleccionados).
ADVERTENCIA: Mantenga los espacios libres mínimos mostrados en (Ver Fig. 3). Si puede,
proporcione espacios libres más grandes desde el piso, techo y pared adyacente.
*Una segunda pared lateral debe estar al menos a 18 pulg. del otro lado del calefactor.
Mantenga siempre un mínimo de 36 pulg. de espacio libre de muebles y cortinajes.
*Para la instalación en garajes residenciales consulte la parte inferior de la página 4.
*IZQUIERDA/DERECHA
CUBIERTA FONDO FRENTE Parte trasera
8 pulg. 36 pulg. 3 pulg. 36 pulg. 0 pulg. al separador
El espacio libre del fondo es desde el fondo del calefactor hasta la superficie de alfombras, baldosas u otros materiales combusbles.
ESPACIO LIBRE MÍNIMO A COMBUSTIBLES
El espacio libre superior es desde la cubierta del calefactor al techo, repisa de madera u otro material combusble.
Fig. 3 - Espacios libres de montaje vistos des-
de el frente del calefactor (pulgadas)
8 plug.
mínimo
desde el
lado del
calefactor
TECHO
36 plug.
mínimo
LADO
DERECHO
LADO
IZQUIERDO
FRENTE
PISO
36 plug. mínimo
desde muebles y
cortinajes
3 plug. mínimo a la supercie superior
de alfombras, baldosas u otros
materiales combustibles

Related product manuals