EasyManua.ls Logo

Dyna-Glo DGD381BNC-D - Page 48

Dyna-Glo DGD381BNC-D
57 pages
Print Icon
To Next Page IconTo Next Page
To Next Page IconTo Next Page
To Previous Page IconTo Previous Page
To Previous Page IconTo Previous Page
Loading...
48
INSTRUCCIONES DE ENSAMBLAJE
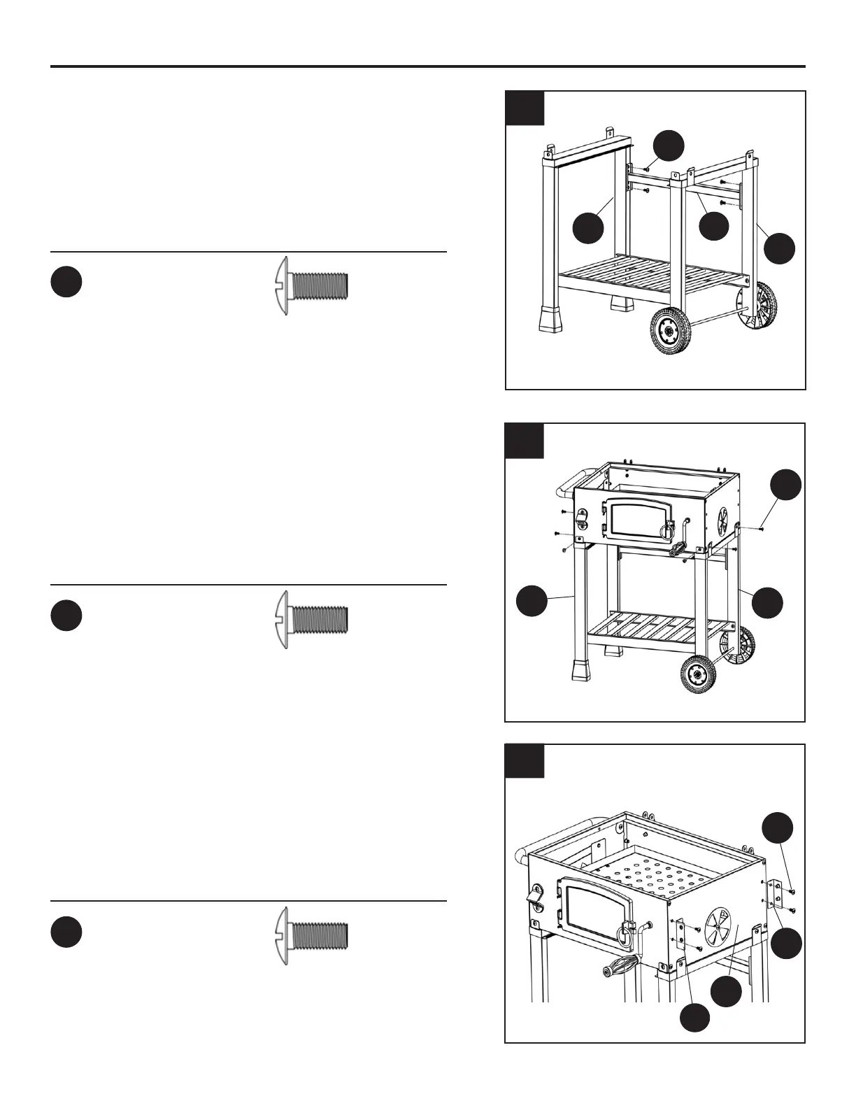
14. Fije el conjunto de la cámara de combustión
al ensamble del carrito. Asegure la cámara
de combustión de fuego en la parte superior
del panel de la pata izquierda (R) y el panel de
la pata derecha (T) con seis tornillos M6x15 (AA).
15. Fije el apoyo frontal para mesa auxiliar (A1) y
el apoyo posterior para mesa auxiliar (B1) al
panel derecho de la cámara de combustión (H)
usando cuatro tornillos M6x15 (AA).
13. Fije el tirante posterior del carrito (V) para
ensamblar la pata izquierda (R) y el conjunto de
la pierna derecha (T) utilizando dos M6x15 tornillo
(AA) en cada lado.
AA
AA
H
AA
T
T
R
R
B1
A1
V
13
14
15
Aditamentos utilizados
Perno
M6 x 15
x 4
AA
Aditamentos utilizados
Perno
M6 x 15
x 6
AA
Aditamentos utilizados
Perno
M6 x 15
x 4
AA