EasyManua.ls Logo

Dyna-Glo DGP321SNN - Page 37

Dyna-Glo DGP321SNN
87 pages
Print Icon
To Next Page IconTo Next Page
To Next Page IconTo Next Page
To Previous Page IconTo Previous Page
To Previous Page IconTo Previous Page
Loading...
37
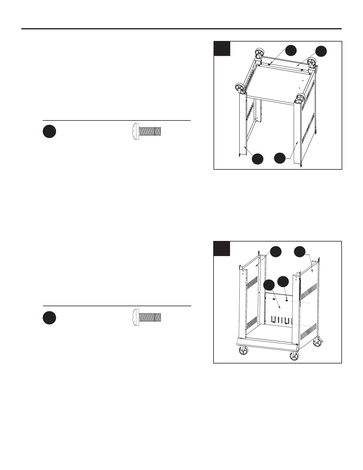
INSTRUCTIONS D’ASSEMBLAGE
3. Fixez la jupe du panneau inférieur (K) au
panneau gauche (L) et au panneau droit (G)
du chariot avec deux boulons M6 x 16 mm
(AA).
Serrez fermement TOUS les boulons de
l’étape 2.
Matériel utilisé
4. Fixez le panneau arrière du chariot (W) au
panneau gauche (L) et au panneau droit (G)
du chariot avec quatre boulons M6 x 16 mm
(AA).
Matériel utilisé
AA
AA
Boulon M6 x 16 mm
Boulon M6 x 16 mm
x 2
x 4
AA
W
L
G
4
AA
W
L G
3
AA
L
K
G