EasyManua.ls Logo

Dyna-Glo DGP321SNN - Page 66

Dyna-Glo DGP321SNN
87 pages
Print Icon
To Next Page IconTo Next Page
To Next Page IconTo Next Page
To Previous Page IconTo Previous Page
To Previous Page IconTo Previous Page
Loading...
66
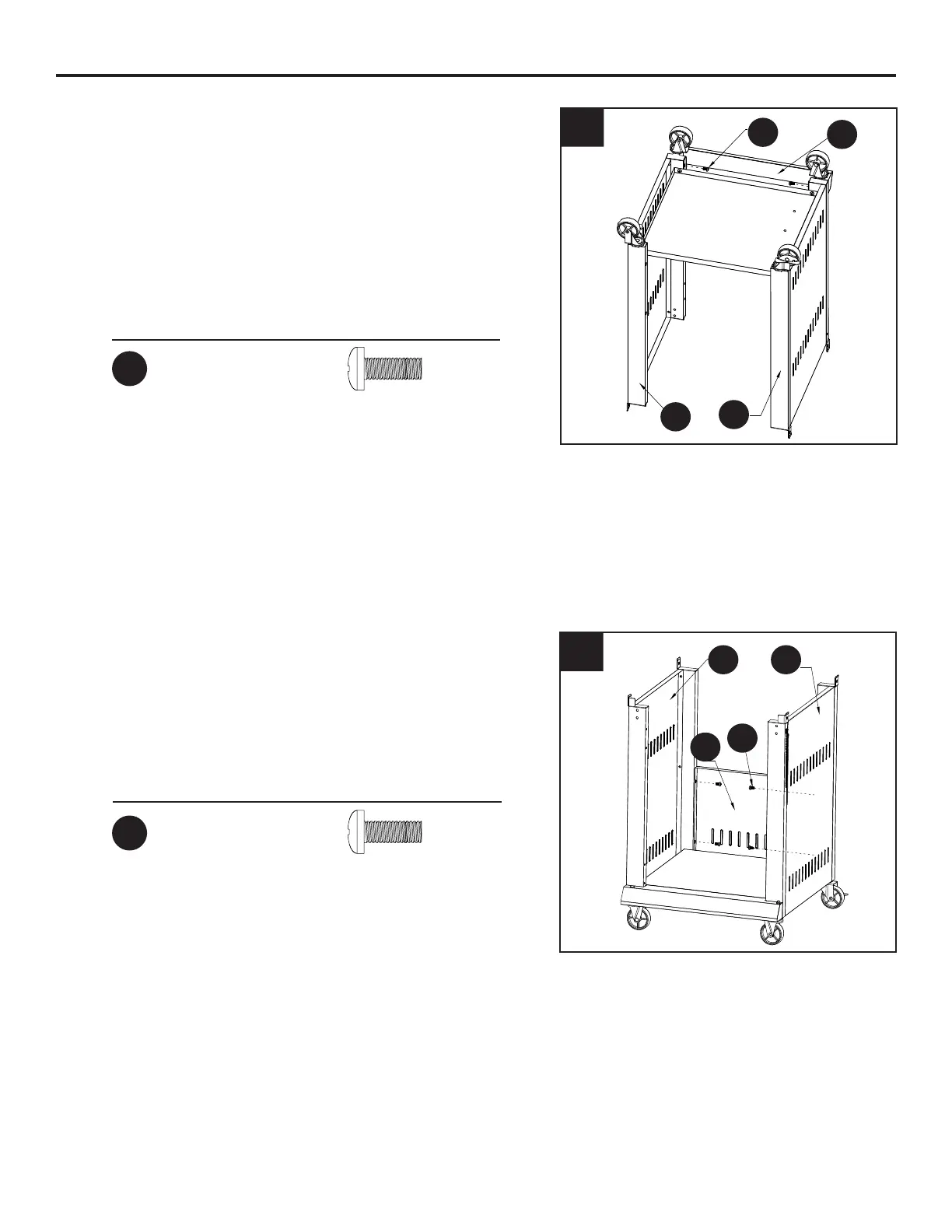
INSTRUCCIONES DE ENSAMBLAJE
3. Fije el conjunto del panel del borde inferior
(K) al conjunto del panel del lado izquierdo
del carro (L) y al conjunto del panel del lado
derecho del carro (G) con dos pernos M6 × 16
(AA).
Ajuste rmemente TODOS los pernos a partir
del paso 2.
Herramientas y tornillería utilizadas
4. Fije el panel trasero del carro (W) al conjunto
del panel del lado izquierdo del carro (L) y al
conjunto del panel del lado derecho del carro
(G) con los cuatro pernos M6 × 16 (AA).
Tornillería utilizada
AA
AA
Pernos M6 × 16
Pernos M6 × 16
× 2
× 4
AA
W
L
G
4
AA
W
L G
3
AA
L
K
G

Related product manuals