EasyManua.ls Logo

Dyna-Glo DGP397CNN-D - Page 37

Dyna-Glo DGP397CNN-D
87 pages
Print Icon
To Next Page IconTo Next Page
To Next Page IconTo Next Page
To Previous Page IconTo Previous Page
To Previous Page IconTo Previous Page
Loading...
37
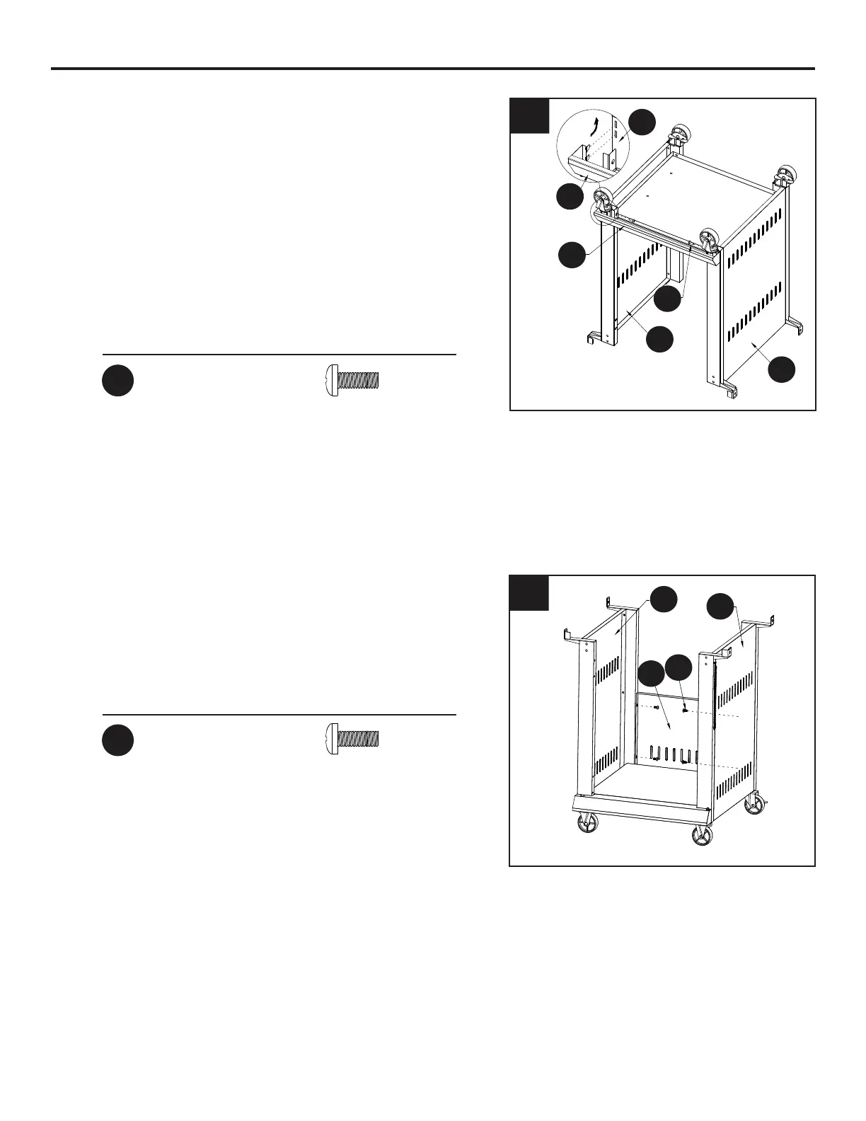
INSTRUCTIONS D’ASSEMBLAGE
 )L[H]OHSDQQHDXDUULqUHGXFKDULRW:DX
SDQQHDXJDXFKH/HWDXSDQQHDXGURLW*GX
FKDULRWDYHFTXDWUHERXORQV0[PP$$
Matériel utilisé
AA
Boulon M6 x 16 mm
x 4
4
W
G
L
AA
L
AA
K
G
K
G
3
L
AA
K
K
G
G
3. ,QVpUH]OHFURFKHWGHODMXSHGXSDQQHDX
LQIpULHXU.GDQVODIHQWHGXSDQQHDXJDXFKH
/HWGDQVOHSDQQHDXGURLW*FRPPH
LOOXVWUp)L[H]ODMXSHGXSDQQHDXLQIpULHXU.
DXSDQQHDXJDXFKH/HWDXSDQQHDXGURLW
*GXFKDULRWDYHFGHX[ERXORQV0[PP
$$
Serrez fermement TOUS les boulons de
l’étape 2.
Matériel utilisé
AA
Boulon M6 x 16 mm
x 2

Related product manuals