EasyManua.ls Logo

Dyna-Glo DGP397CNN-D - Page 9

Dyna-Glo DGP397CNN-D
87 pages
Print Icon
To Next Page IconTo Next Page
To Next Page IconTo Next Page
To Previous Page IconTo Previous Page
To Previous Page IconTo Previous Page
Loading...
9
X
FF
G
L
V
EE
G
L
ASSEMBLY INSTRUCTIONS
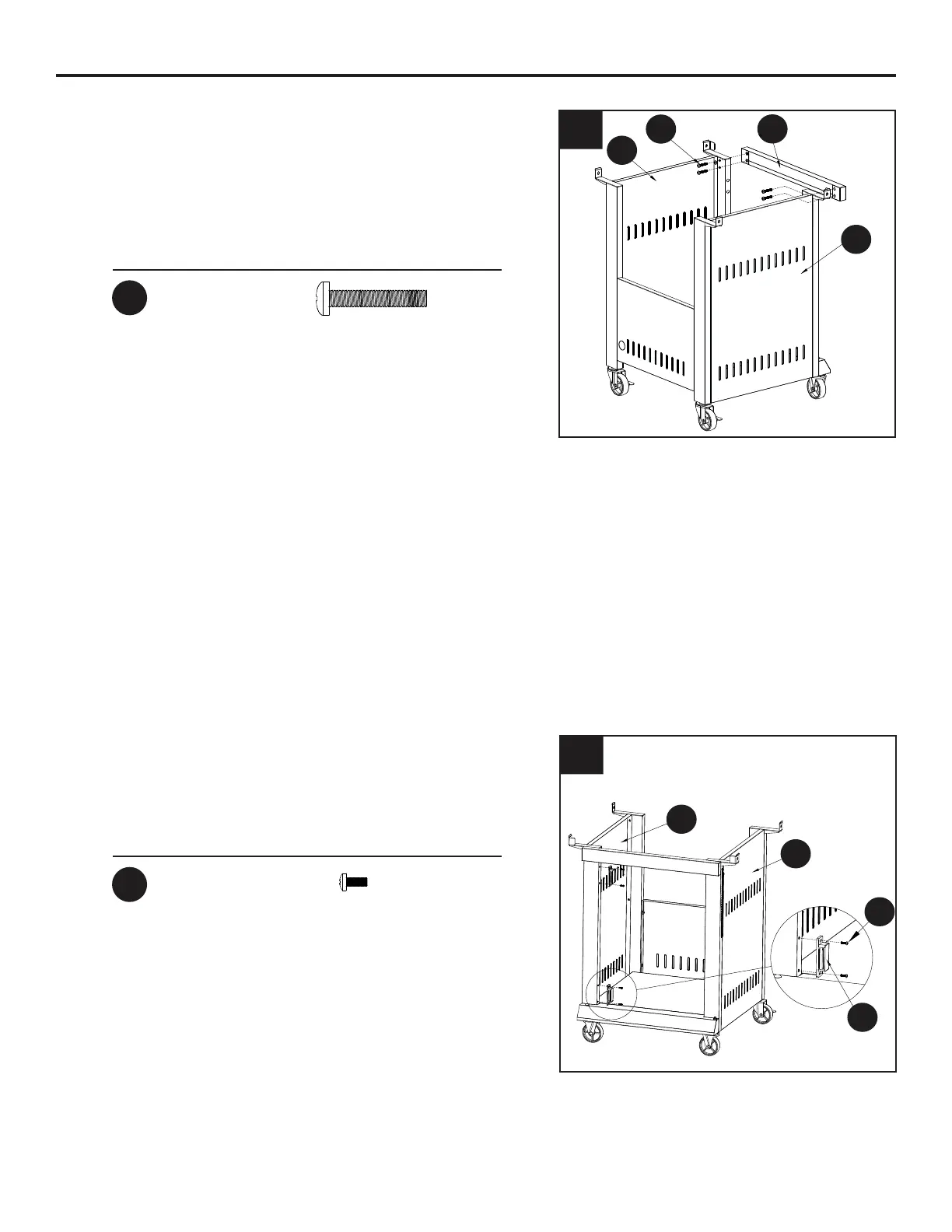
 $WWDFKWKHXSSHUIURQWGRRUEUDFH9WRWKH
FDUWOHIWVLGHSDQHODVVHPEO\/DQGWKHFDUW
ULJKWVLGHSDQHODVVHPEO\*ZLWKIRXU0[
EROWV((
 $WWDFKWKHGRRUPDJQHW;WRWKHFDUWOHIWVLGH
DVVHPEO\/ZLWKIRXU0[EROWV))
5
6
Hardware Used
Hardware Used
EE
FF
M6x35 Bolt
M3x10 Bolt
x 4
x 4
L
G
FF
X
L
G
EE
V

Related product manuals