EasyManua.ls Logo

Dyna-Glo DGP552SSP - Page 70

Dyna-Glo DGP552SSP
93 pages
Print Icon
To Next Page IconTo Next Page
To Next Page IconTo Next Page
To Previous Page IconTo Previous Page
To Previous Page IconTo Previous Page
Loading...
70
Z
AA
L
P
INSTRUCCIONES DE ENSAMBLAJE
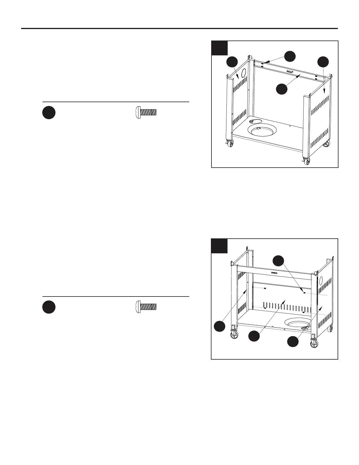
3. Fije el tirante de la puerta de la parte frontal superior
<DOFRQMXQWRGHOSDQHOGHOODGRL]TXLHUGRGHOFDUUR
(P) y al conjunto del panel del lado derecho del
carro (L) con cuatro pernos M6 × 16 (AA).
4. Fije el panel trasero del carro (Z) al conjunto del
SDQHOGHOODGRL]TXLHUGRGHOFDUUR3\DOFRQMXQWR
del panel del lado derecho del carro (L) con los
cuatro pernos M6 × 16 (AA).
3
4
Herramientas y tornillería utilizadas
Herramientas y tornillería utilizadas
AA
AA
Pernos M6 × 16
Pernos M6 × 16
× 4
× 4
Y
AA
P
L
L
AA
P
P
Z
L
Y
AA

Related product manuals