EasyManua.ls Logo

Dynaudio Audience SUB-20A - Multi-Channel Sound System

Dynaudio Audience SUB-20A
19 pages
Print Icon
To Next Page IconTo Next Page
To Next Page IconTo Next Page
To Previous Page IconTo Previous Page
To Previous Page IconTo Previous Page
Loading...
frequency content from the main speakers. This is accomplished by changing the Output Filter
switch from <Flat> to <Lowcut 80 Hz>.
Multi-channel sound system
In multi-channel sound systems such as AC-3, AMPEG-2, and DTS, the dedicated subwoofer
(LFE; Low Frequency Effects) output from the surround decoder should be used (Fig. A).
If small loudspeakers are used throughout the surround setup, it is preferable to feed bass
signals from all five surround channels, and the subwoofer channel, to the subwoofer(s). If
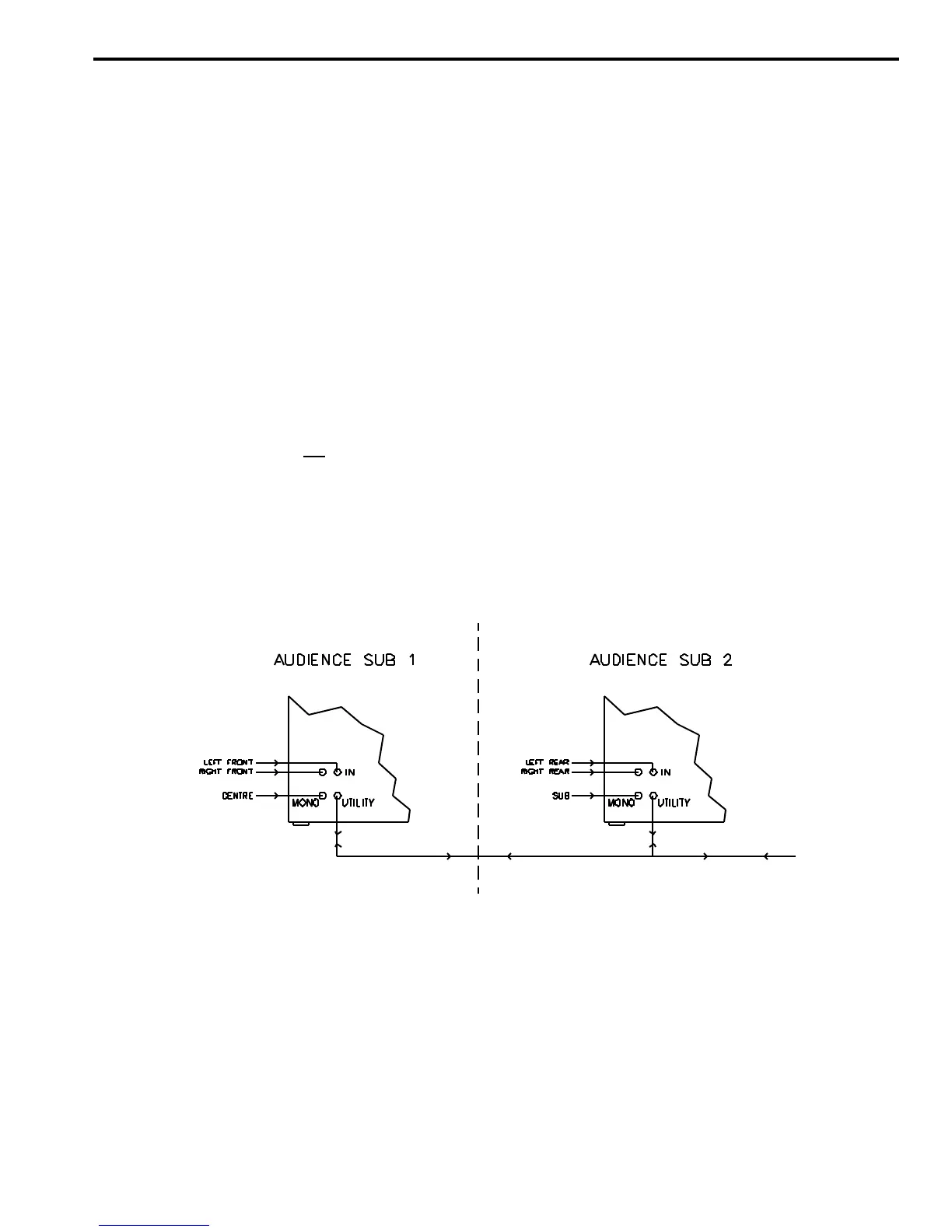
multiple Dynaudio subwoofers are to be used, connect them with the Utility Link <Utility
In/Out>. Connect the Utility Link between two subwoofers as shown below. Example: two
subwoofers will act as one big subwoofer with a total of six inputs, three on each. It is very
important that all controls and switches are set in the same position on both subwoofers.
Use the three inputs <Left>, <Right>, and <Mono> on the first subwoofer for the respective
Left Front, Right Front, and Center channels. On the second subwoofer use the Left, Right, and
Mono input for the Left Rear, Right Rear, and Subwoofer channels (Fig. C).
(Fig. C)

Related product manuals