EasyManua.ls Logo

E.L.B. F-350

Default Icon
48 pages
To Next Page IconTo Next Page
To Next Page IconTo Next Page
To Previous Page IconTo Previous Page
To Previous Page IconTo Previous Page
Loading...
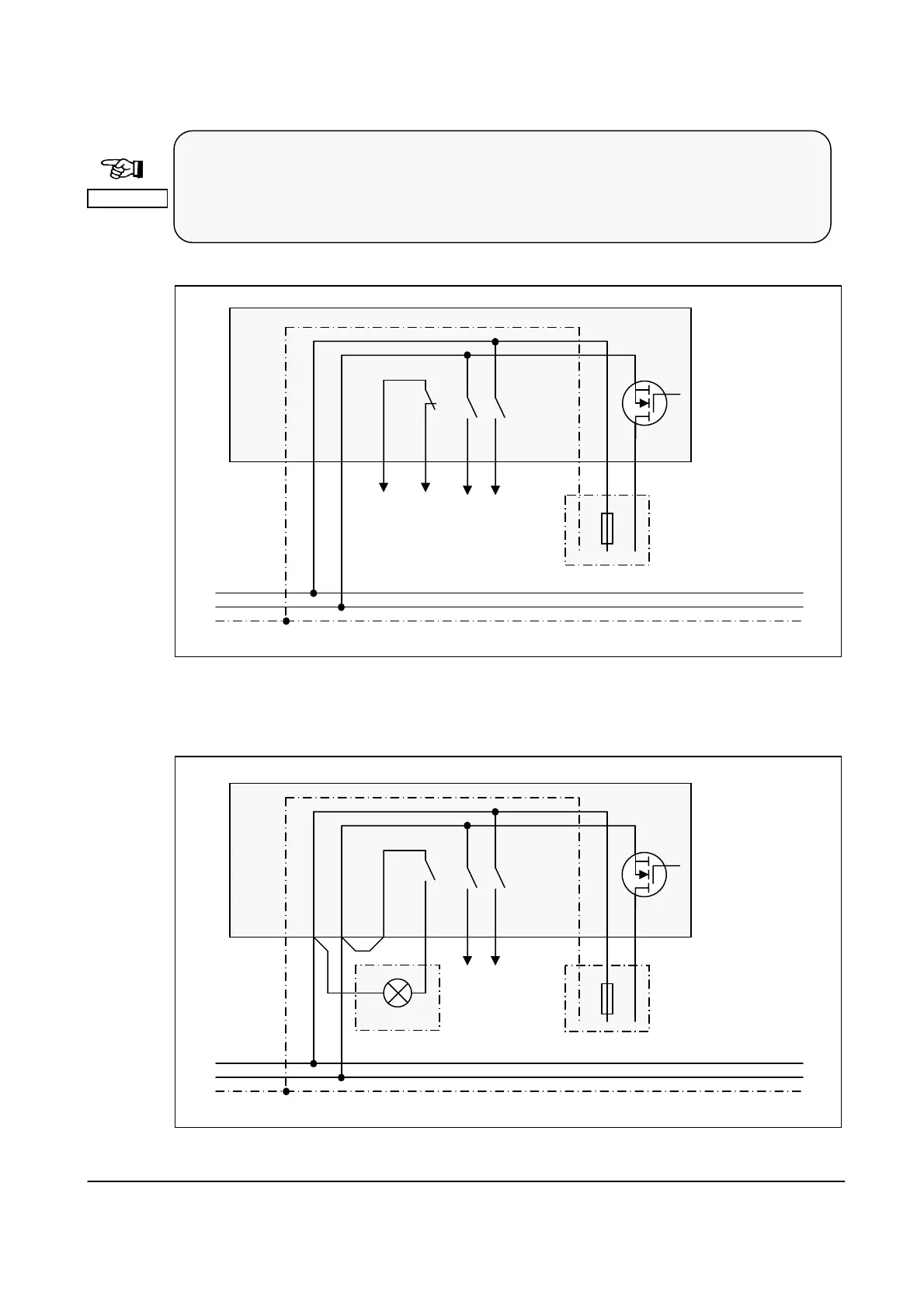
9.2.1.2.1 System F-350 Circuitry
figure 11: F-351 wiring diagram
38
standard version
programmable EEx-p-release valve
potential free type 2 _ . _
relay contact (K1)
L1(+)
N (-)
PE
connection example:
external
alarm light
EEx-p-release valve
type 2 _ . _
alarm light
L1(+) (function of K1 = „fault flash“)
N (-)
PE
F-351
K1
1 2 3 4 5 6 7 8 9 10
(
+
)(
-
)
F-351
K1
1 2 3 4 5 6 7 8 9 10
(
+
)(
-
)
Ensure that only fuses of the specified type and appropriate current rating are
used as replacements. Jumpering or bypassing of fuses or back-up fuses are
inadmissible on principle.
Im
p
ortant

Table of Contents