EasyManua.ls Logo

EBARA A70W - Installation; Location

EBARA A70W
69 pages
Print Icon
To Next Page IconTo Next Page
To Next Page IconTo Next Page
To Previous Page IconTo Previous Page
To Previous Page IconTo Previous Page
Loading...
(16)
4 Installation
Observe the following precautions and instructions when installing the pump.
4.1 Location
This pump is suitable for indoor installation. To install the pump, select a place not exposed
to dust or humidity and not subject to dew condensation. Also, allow sufficient space to
ensure easy pump installation and disassembly for maintenance. If the pump has an
interface box, locate it within 3m of the pump.
CAUTION
Install pump in a location where ambient temperature does not exceed
30. Exercise extra caution when operating the pump in an enclosed
room.
CAUTION
Leave a gap of at least 50mm between the pump cover and adjacent
equipment for ventilation.
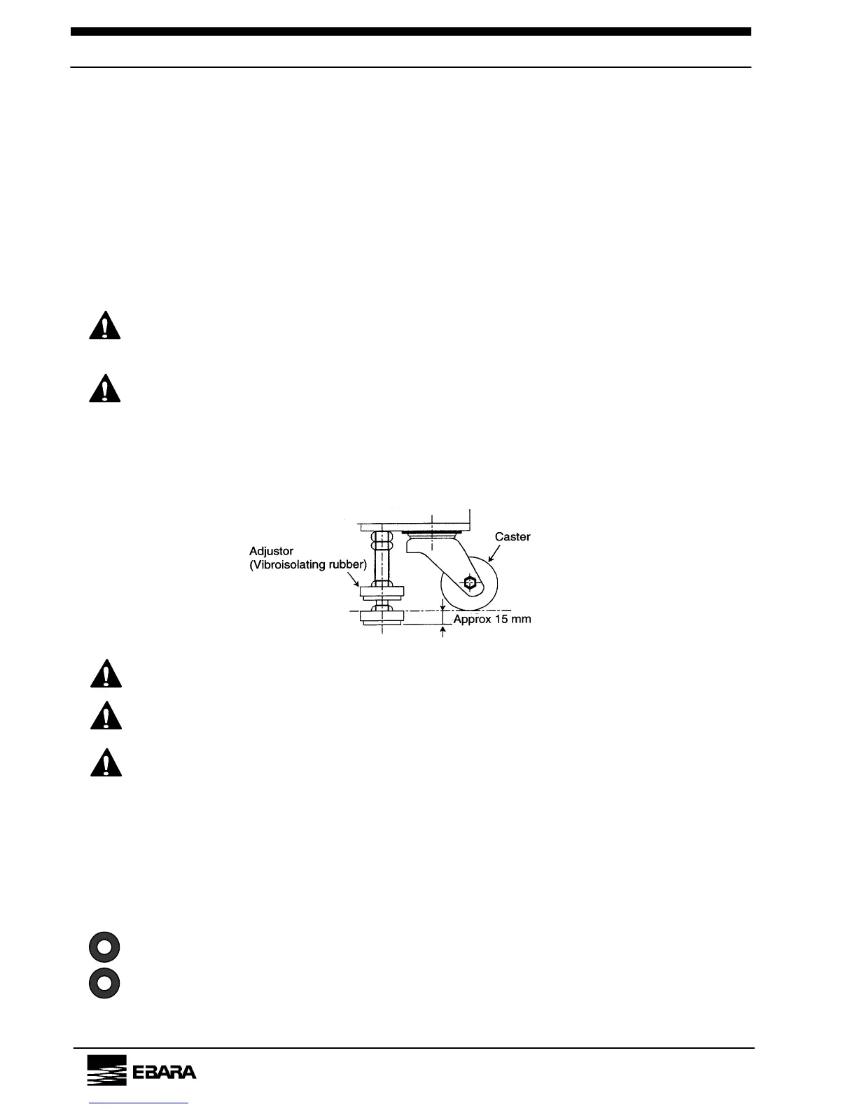
Four integral mobile support units, each consisting of a caster and a height-adjustment foot,
support the pump base. To move the pump, raise the four adjustment feet by turning the
holding nuts in the counterclockwise direction.
Figure 4.1 Caster
WARNING
Be careful not to overturn the pump when pushing or pulling it
sideways. The pump is narrow in comparison to its height.
CAUTION
The neck portion of the casters will vibrate when the caster is moving.
Keep fingers and feet away.
CAUTION
Do not step on the pump or place objects upon it.
Turn the holding nuts in the clockwise direction to lower the height-adjustment feet and
secure the pump.
Adjust the height of the feet evenly to level the pump base.
The difference in height between the two sides of the pump base shall not exceed
1mm. The adjustment allowance is approximately 15 mm.
[NOTE]
An unleveled pump may generate an OIL LEVEL LOW ALARM.
[NOTE]
Failure to use adjustment feet will increase floor vibrations.
EBARA Corporation

Related product manuals